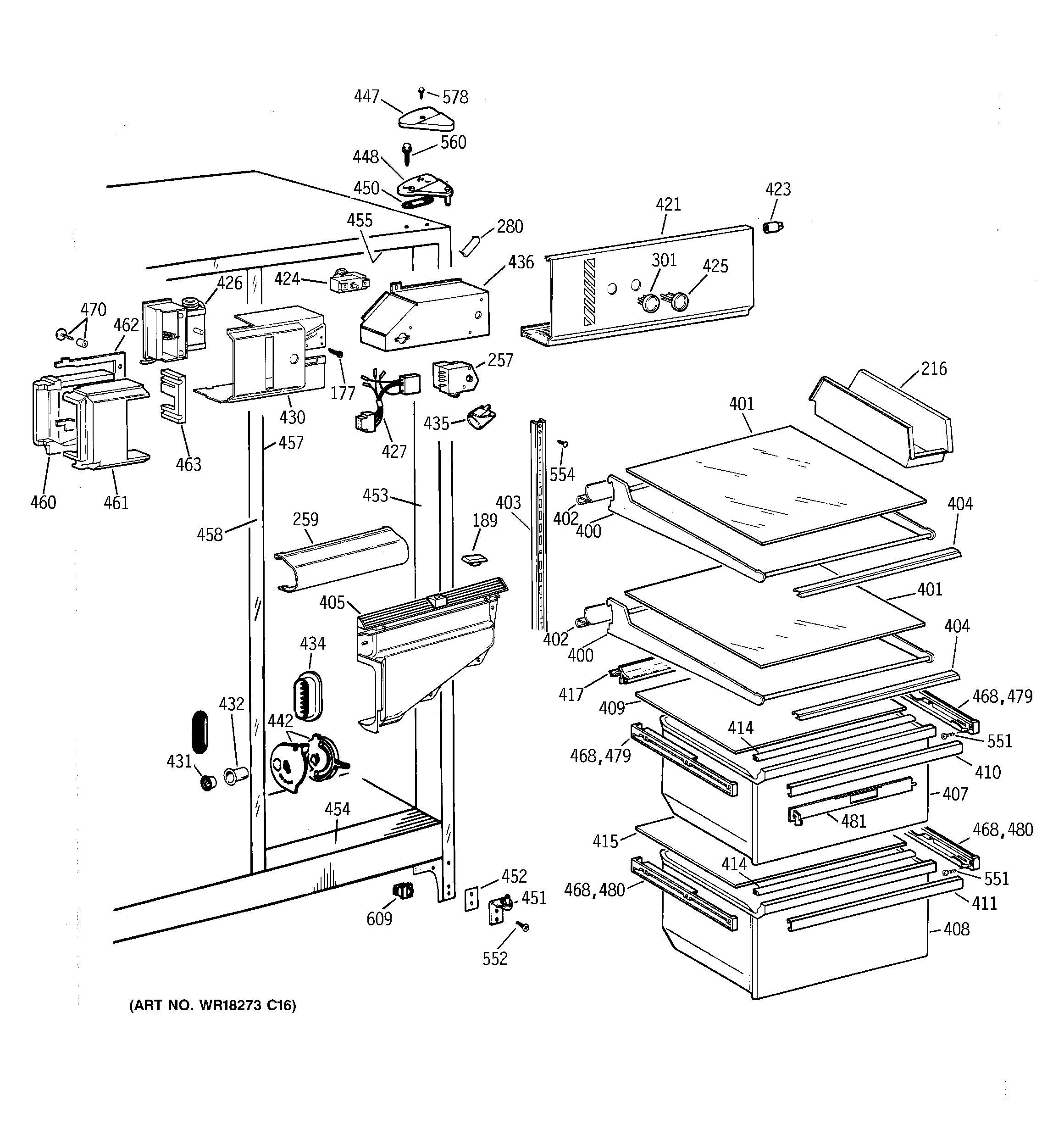
CSK22GABCAA FRESH FOOD SECTIONadmin2025-04-26T08:36:22+00:00CSK22GABCAA FRESH FOOD SECTION ProductsPositionProduct177SCREW189GEN WR01X2115216GEN WR32X1575257GEN WR09X0601259GEN WR17X4077280GEN WR02X8519301GEN WR02X9215400GEN WR71X2292401GEN WR32X1533402GEN WR38X2214403GEN WR71X2588404GEN WR38X2216405GEN WR17X3890407WR32X1492 GE Refrigerator Vegetable Pan408GEN WR32X1493409GEN WR32X1530410GEN WR17X4104411GEN WR17X4105414GEN WR14X0431415GEN WR32X1473417GEN WR14X10006421GEN WR17X4078423GEN WR02X6347423GEN WR02X10050424GEN WR02X8914424GEN WR09X0530425GEN WR02X9216426GEN WR09X0567427GEN WR23X0444430GEN WR17X3416431WR2X9299 GE Refrigerator Air Duct Cap Mullion432GEN WR02X8654434GEN WR02X9431435WR02X12207 GE Refrigerator Net Bulb Light435WR2X9014 GE Refrigerator Socket & Terminal C02436GEN WR02X8909442GEN WR02X10042447GEN WR02X8263448GEN WR13X10054450GEN WR02X4194451WR13X10020 GE Refrigerator Door Hinge Assembly with Cam453GEN WR40X1744454GEN WR40X1745455GEN WR40X1746457GEN WR40X1748458GEN WR02X10334458GEN WR40X1751458GEN WR02X9376460GEN WR02X8911461GEN WZ06X0136461GEN WR02X8910462GEN WR14X0442463GEN WR82X0338468WR1X2048 GE Refrigerator Slide Bearing470GEN WR01X1929479WR72X239 GE Refrigerator Left Hand Slide Assembly479WR72X240 GE Slide Assembly Right Hand480GEN WR72X0253480WR72X252 GE Refrigerator Slide Assembly Left Hand481GEN WR01X2079551GEN WZ04X0244552WR01X10600 GE Refrigerator Screw 12-24 Tapping Hex .811 S Z554WR01X10601 GE Refrigerator Screw 10-24 TT IHXW560GEN WR01X2140578WZ2X464D GE Screw609WR23X37285 GE Light Switch