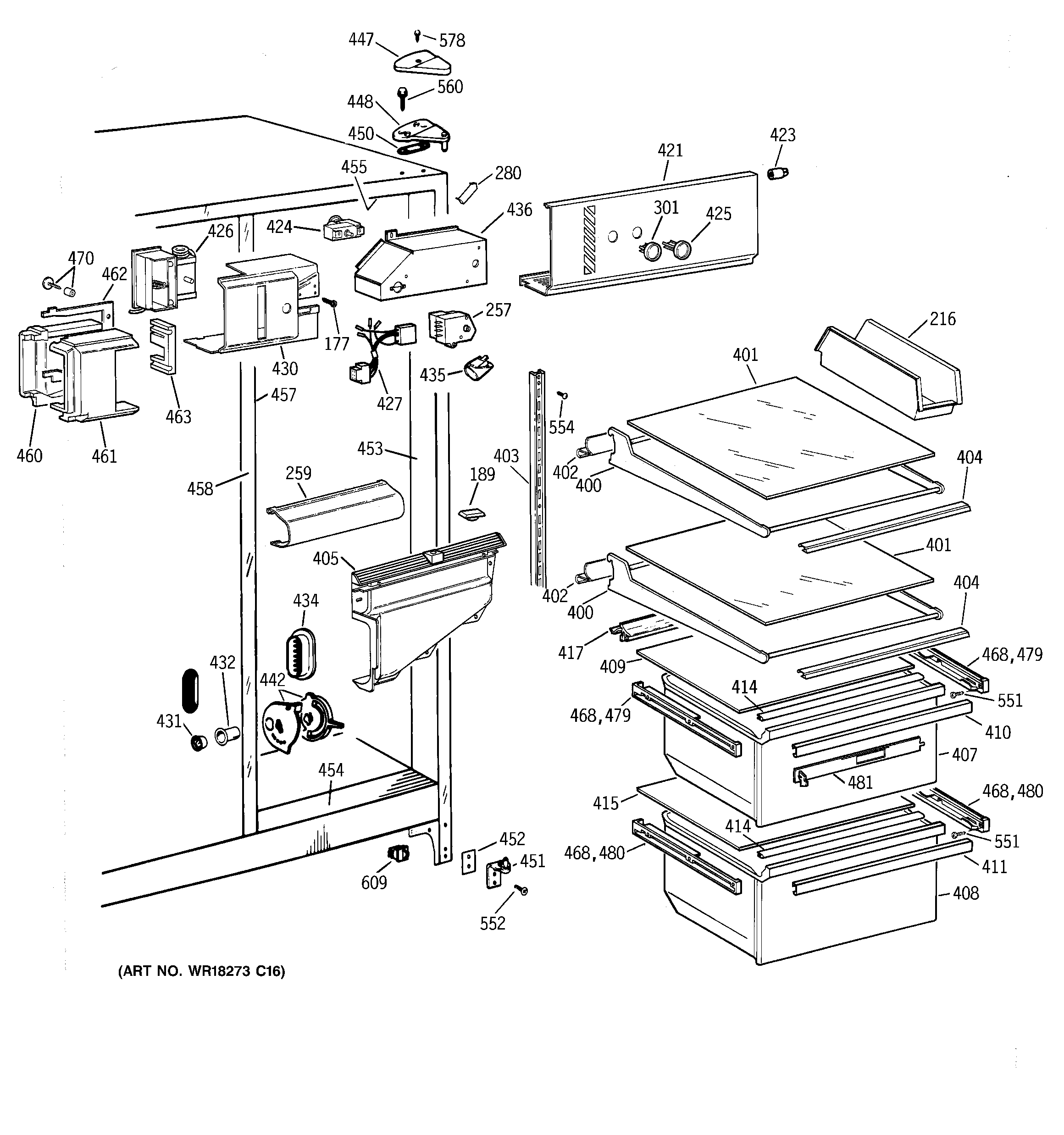
CSK22GABEAA FRESH FOOD SECTION

CSK22GABEAA FRESH FOOD SECTION