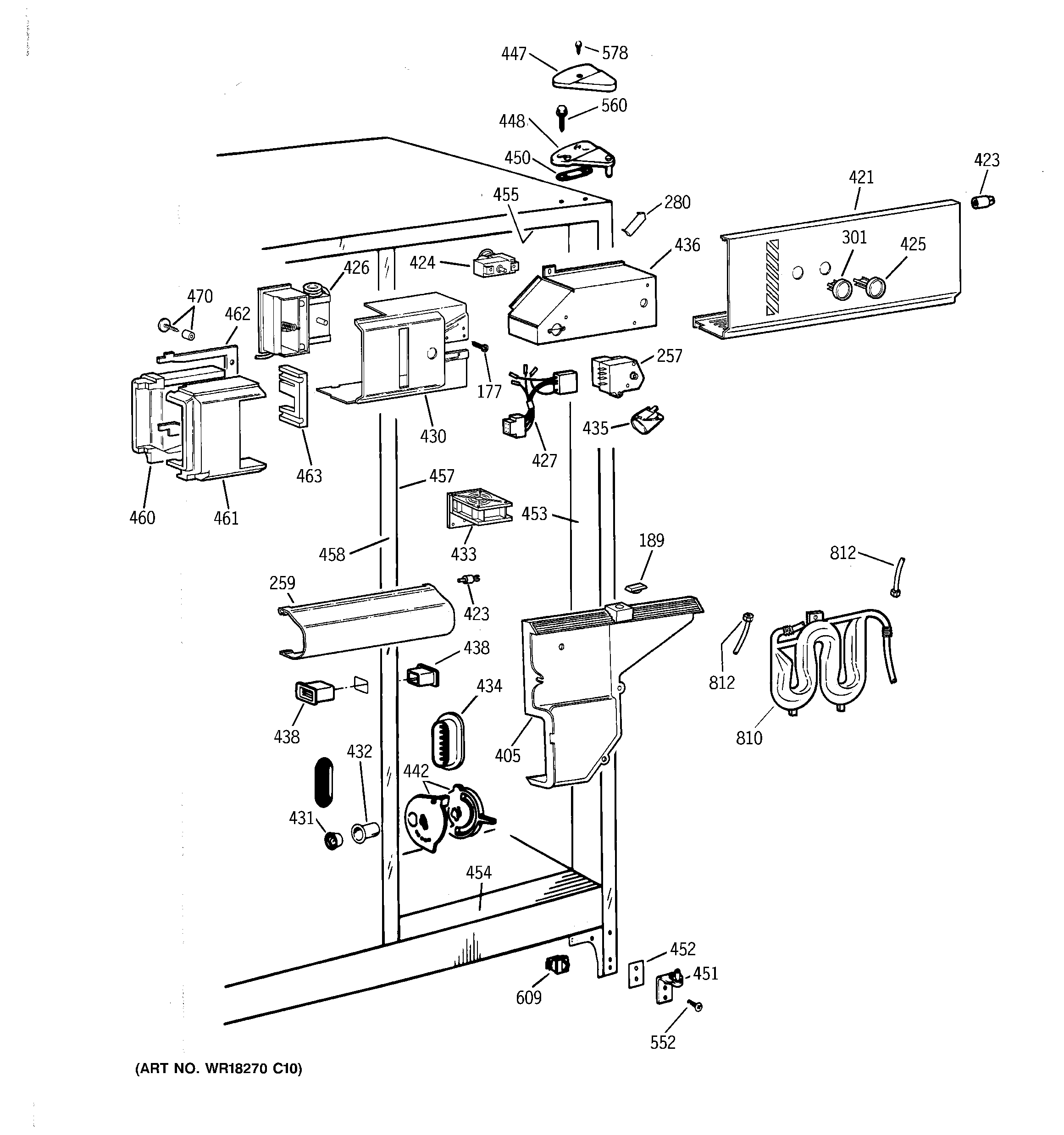
CSK27DHZAAA FRESH FOOD SECTIONadmin2025-04-26T08:36:34+00:00CSK27DHZAAA FRESH FOOD SECTION ProductsPositionProduct177SCREW189GEN WR01X2115257GEN WR09X0601259GEN WR17X4077280GEN WR02X8519301GEN WR02X9215405GEN WR17X3890421GEN WR17X4078423GEN WR02X6347424GEN WR09X0530424GEN WR02X8914425GEN WR02X9216426GEN WR09X10001427GEN WR23X10002430GEN WR17X3416431WR2X9299 GE Refrigerator Air Duct Cap Mullion432GEN WR02X8654433GEN WR60X0246434GEN WR02X9431435WR2X9014 GE Refrigerator Socket & Terminal C02435WR02X12207 GE Refrigerator Net Bulb Light436GEN WR02X8909438GEN WR02X8655438GEN WR02X7476442GEN WR02X9138447GEN WR02X8334448GEN WR13X0747450GEN WR02X4194451GEN WR13X0746452GEN WR02X9443453GEN WR40X1734454GEN WR40X1735455GEN WR40X1736457GEN WR40X1737458GEN WR40X1740458GEN WR02X9376458GEN WR02X4739458GEN WR02X7033460GEN WR02X8911461GEN WZ06X0136461GEN WR02X8910462GEN WR14X0442463GEN WR82X0338470GEN WR01X1929552WR01X10600 GE Refrigerator Screw 12-24 Tapping Hex .811 S Z560GEN WR01X2140578WZ2X464D GE Screw609WR23X37285 GE Light Switch810WR17X4358 GE Refrigerator Water Tank812WR17X2891 GE Refrigerator 5/16" X 6FT Plastic Water Line Tubing