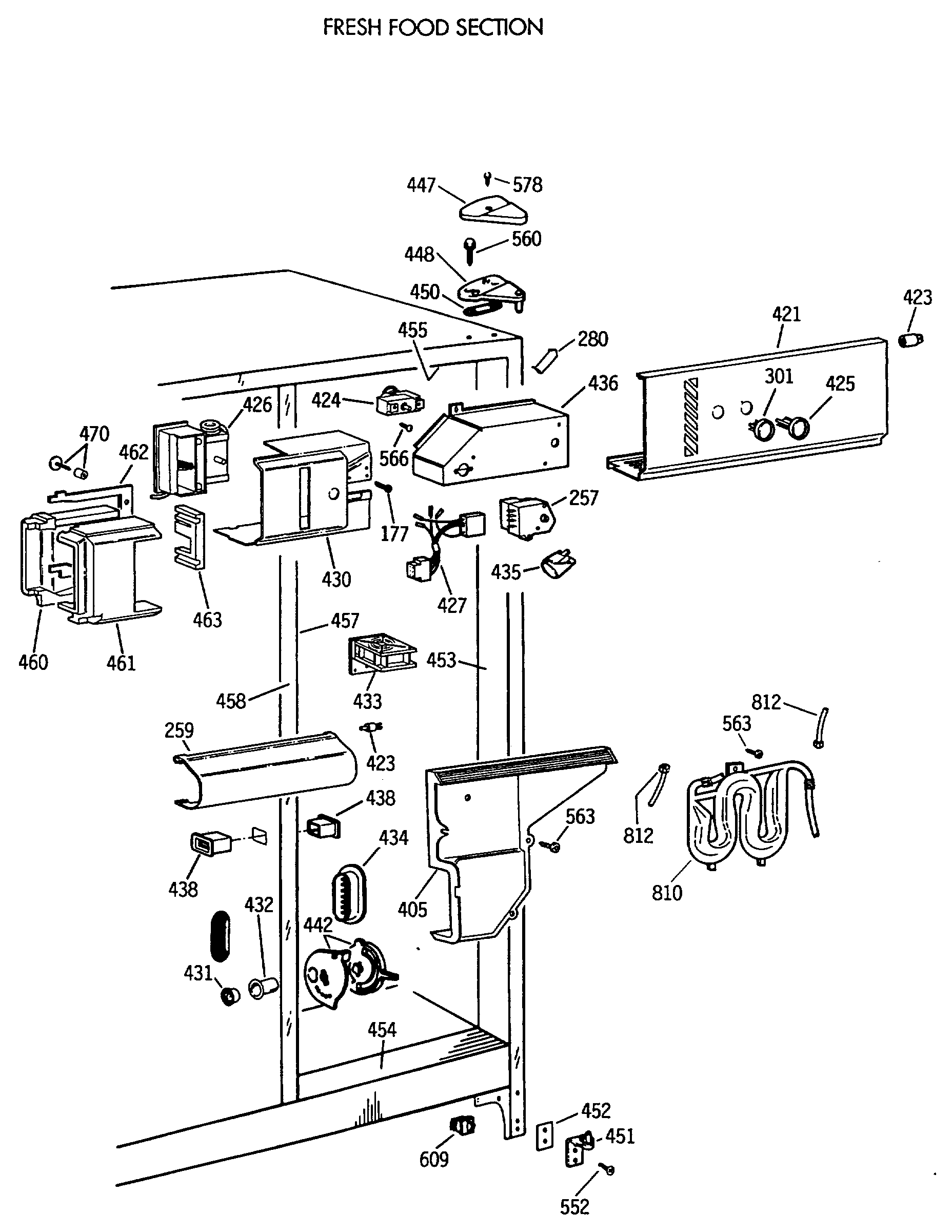
CSK27PFXABB FRESH FOOD SECTIONadmin2025-04-26T08:36:34+00:00CSK27PFXABB FRESH FOOD SECTION ProductsPositionProduct177SCREW257GEN WR09X0541259GEN WR17X4077280GEN WR02X8524301GEN WR02X9215405GEN WR17X3890421GEN WR17X4078423GEN WR02X6347424GEN WR09X0530424GEN WR02X8914425GEN WR02X9216426GEN WR09X0522427GEN WR23X0444431WR2X9299 GE Refrigerator Air Duct Cap Mullion432GEN WR02X8654433GEN WR60X0246434GEN WR02X9175435WR02X12207 GE Refrigerator Net Bulb Light435WR2X9014 GE Refrigerator Socket & Terminal C02436GEN WR02X8909438GEN WR02X7476438GEN WR02X8655442GEN WR02X9138447GEN WR02X8534448GEN WR13X0747450GEN WR02X4194451GEN WR13X0746452NUTSTRIP HINGE452SHIM HINGE BTM.453GEN WR40X1734455GEN WR40X1736457GEN WR40X1737458GEN WR02X9376458GEN WR02X7033458GEN WR40X1739458GEN WR02X4739460GEN WR02X8911461GEN WR02X8910461GEN WZ06X0136462GEN WR14X0442463GEN WR82X0338470GEN WR14X0420470GEN WR01X1929552GEN WR01X2078560GEN WR01X2081578WZ2X464D GE Screw609GEN WR23X0397810WR17X4358 GE Refrigerator Water Tank812WR17X2891 GE Refrigerator 5/16" X 6FT Plastic Water Line Tubing