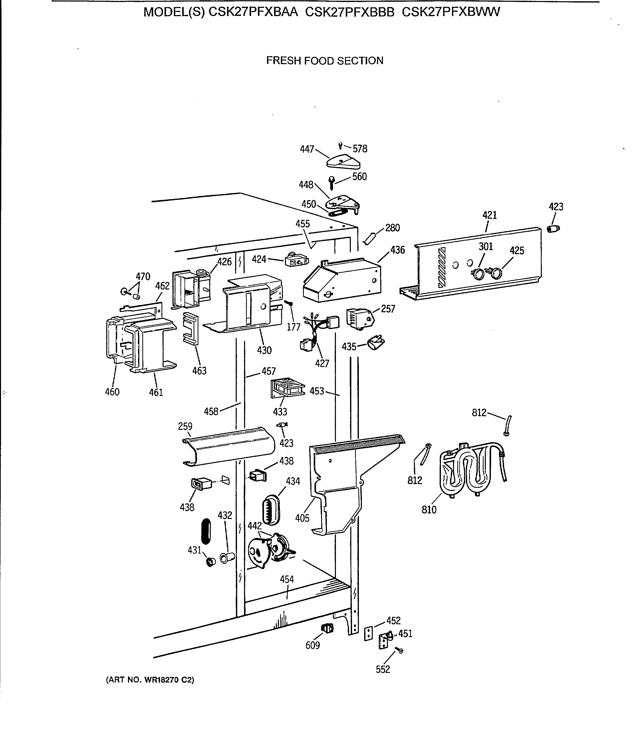
CSK27PFXBBB FRESH FOOD SECTION