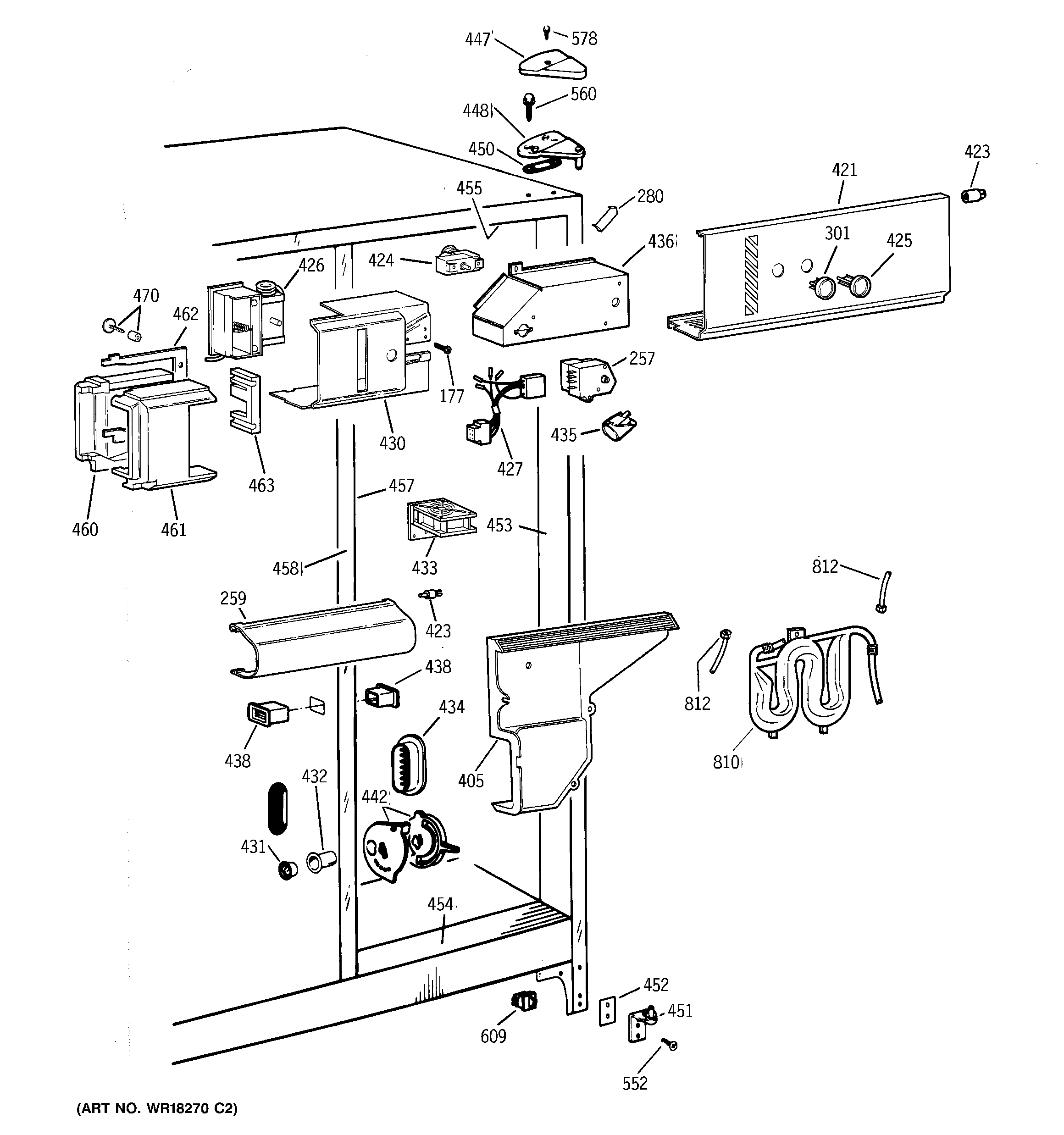
CSK27PFZBWW FRESH FOOD SECTION