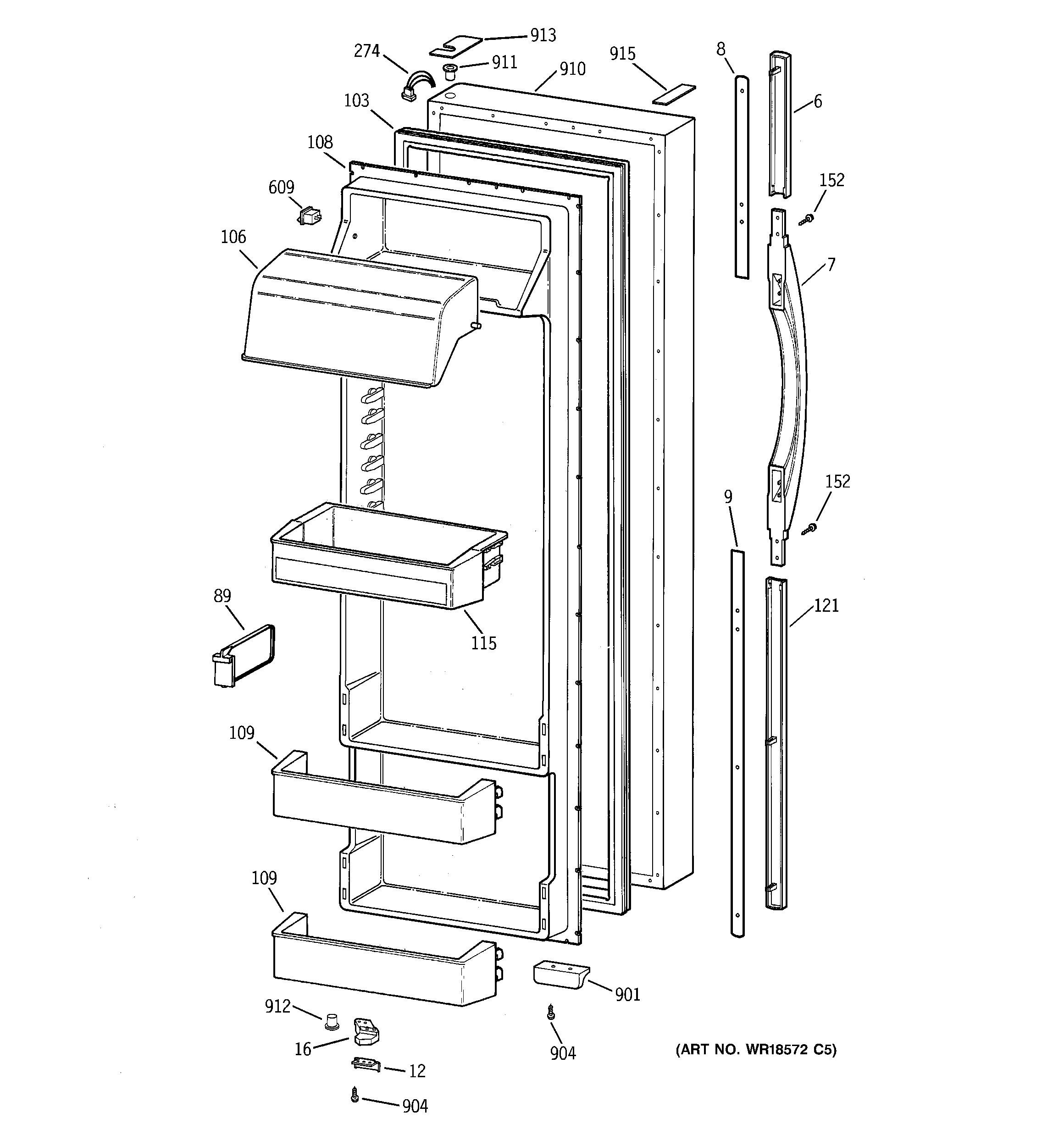
CSK28DRBBAA FRESH FOOD DOORadmin2025-04-26T08:36:22+00:00CSK28DRBBAA FRESH FOOD DOOR ProductsPositionProduct6GEN WR12X101497GEN WR12X101168GEN WR12X101509GEN WR12X1019012GEN WR02X1004316GEN WR02X924989GEN WR02X9444103GEN WR24X0560106GEN WR22X0524108GEN WR77X0675109GEN WR71X10062115GEN WR71X10063121GEN WR12X10189152GEN WR01X10038274GEN WR23X10041609GEN WR23X10016901GEN WR10X0127904WR01X10610 GE Refrigerator Screw 10-32 GX PNT20 1 S L910GEN WR78X10134911GEN WR01X2047912GEN WR01X2131913GEN WR01X2142915GEN WR01X2143