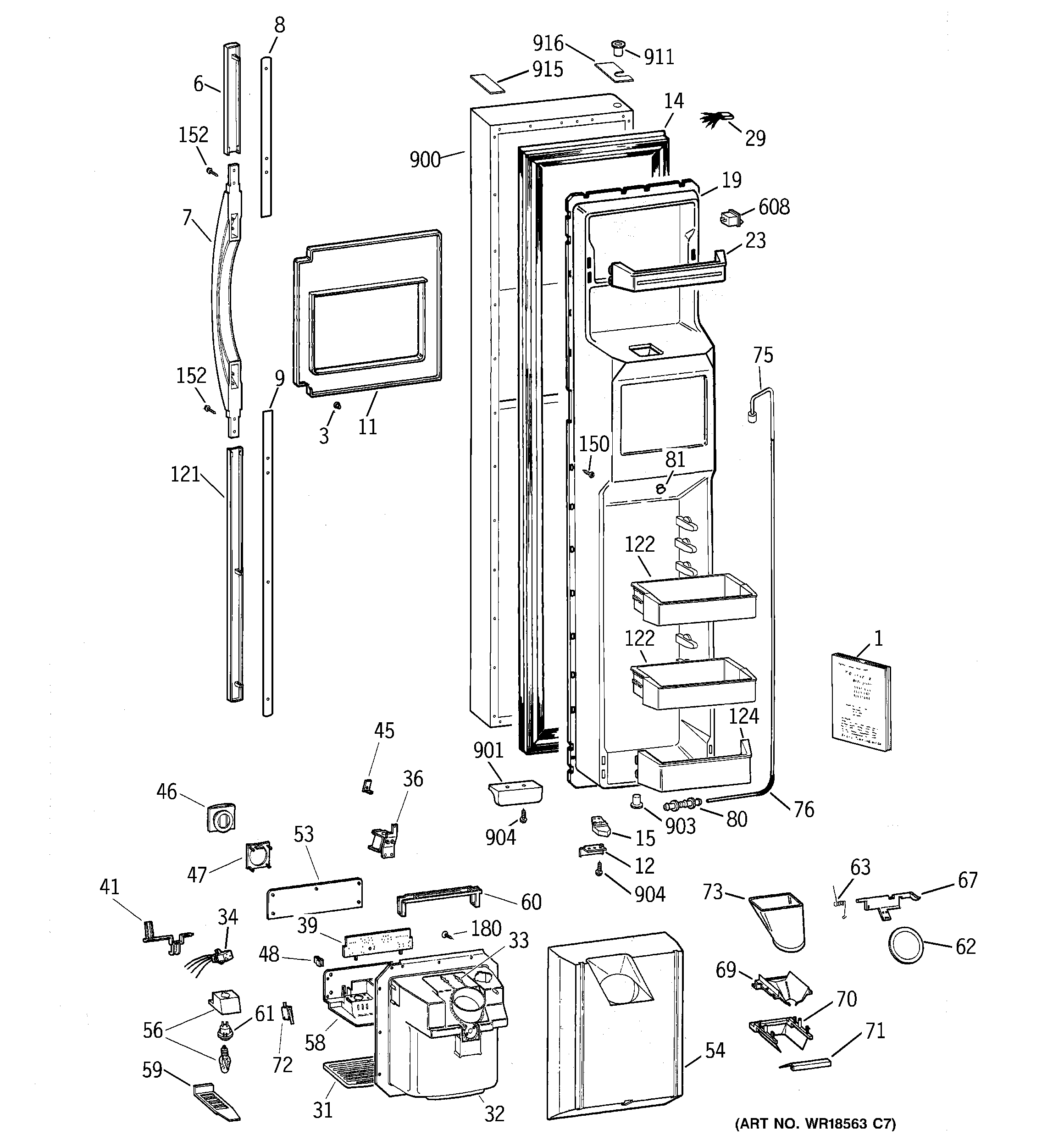
CSK30DRBEAA FREEZER DOOR

CSK30DRBEAA FREEZER DOOR

Products

PositionProduct
1GEN 49-60025
1GEN 31-45845
3GEN WR02X8669
6GEN WR12X10149
7GEN WR12X10116
8GEN WR12X10150
9GEN WR12X10190
11GEN WR38X10122
12GEN WR02X10043
14GEN WR24X0559
15GEN WR02X9250
19GEN WR77X10003
23GEN WR71X2619
29GEN WR23X10121
31GEN WR17X4151
32GEN WR17X10191
33GEN WR51X10001
34GEN WR23X0458
36GEN WR62X0093
39GEN WR55X0078
41GEN WR17X3493
45WR2X8818 GE Refrigerator Retainer
46GEN WR02X8726
47GEN WR02X8681
48GEN WR02X9154
53GEN WR17X4286
54GEN WR17X3980
56GEN 10S6/10BB
56GEN WR02X8686
58GEN WR17X3462
59GEN WR02X9132
60GEN WR02X8685
61WR2X9561 GE Refrigerator Lamp Socket
62WR17X11653 GE Refrigerator Ice Door Flap Assembly
63GEN WR02X8663
67WR17X3089 GE Refrigerator Door Crank
69GEN WR17X3095
70GEN WR02X8956
71GEN WR17X10282
72GEN WR23X0366
73GEN WR17X3832
75GEN WR17X3670
76GEN WR02X8933
80WR02X11330 GE Refrigerator 5/16 Union Water Line Connector
81GEN WR01X2077
86GEN WH02X0940
87WZ4X241D GE Screw Package
121GEN WR12X10189
122GEN WR71X10067
124GEN WR71X10064
134WR01X10019 GE Refrigerator Screw 6-10 PL FLP 1/2 S
150WR1X1791D GE Refrigerator Screw Package
152GEN WR01X10038
180WE02X10011 GE Screw
303GEN WD01X1440
324GEN WR02X7051
564GEN WR01X1194
608WR23X427 GE Refrigerator Freezer Light Switch
617WR2X8349 GE Screw Grommet
676WD2X5166 GE Dishwasher Screw
683SCR 8-32 TT PT 3/8
689WZ5X246 GE Screw
758WD2X323D GE Dishwasher Screw Package
782WB17X5060 GE Oven Block Assembly
822GEN WR01X2122
900GEN WR78X10183
901GEN WR10X0127
903GEN WR01X2045
904WR01X10610 GE Refrigerator Screw 10-32 GX PNT20 1 S L
911GEN WR01X2047
916GEN WR01X2044
1506GEN WB17X5059