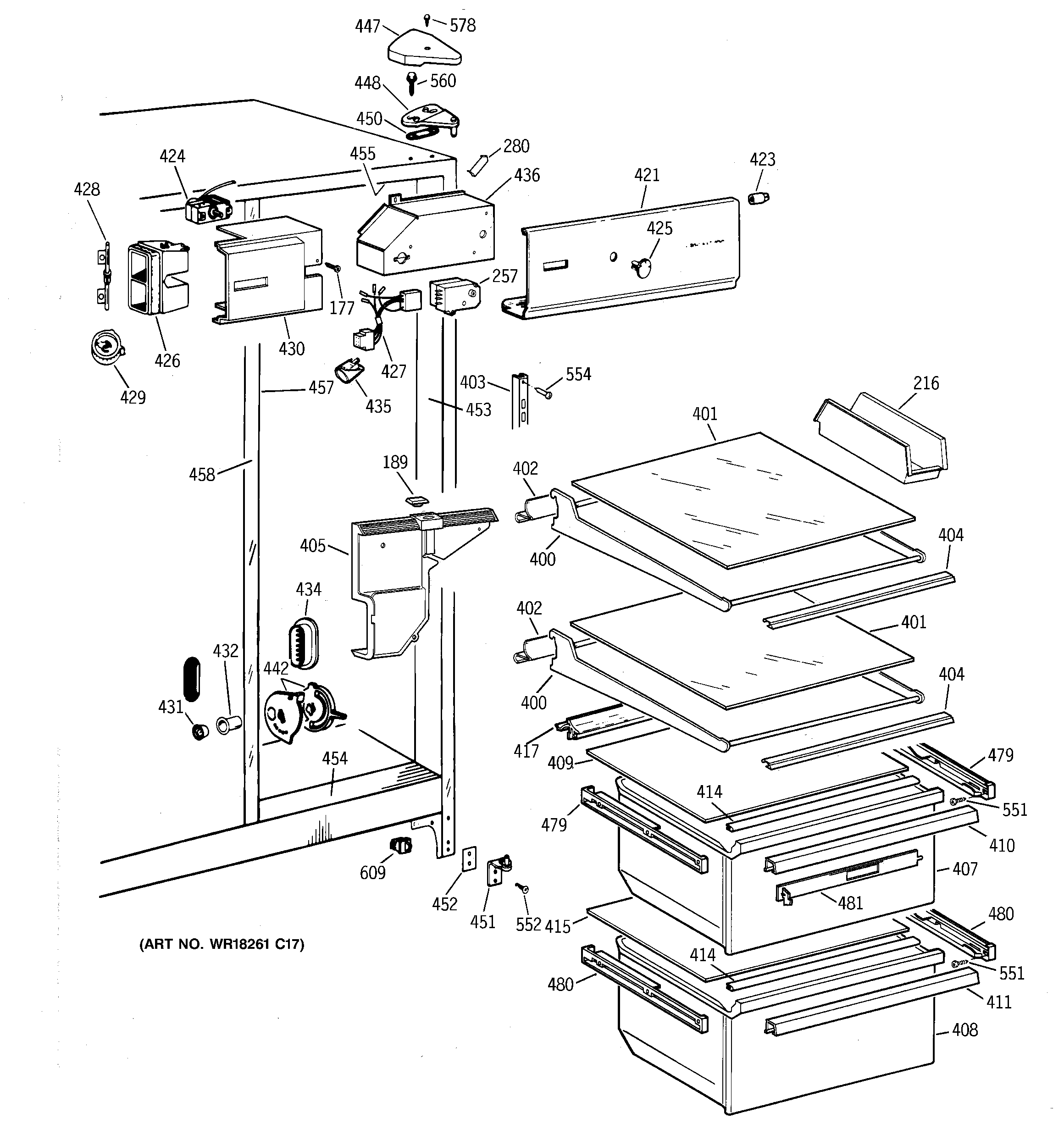
CSX22GAZAWW FRESH FOOD SECTIONadmin2025-04-26T08:38:14+00:00CSX22GAZAWW FRESH FOOD SECTION ProductsPositionProduct177SCREW189GEN WR01X2115216GEN WR32X1575257DEFROST TIMER280GEN WR02X8518400GEN WR71X2292401GEN WR32X1533402GEN WR38X2214403GEN WR71X2588404GEN WR38X2216405GEN WR17X3890407WR32X1492 GE Refrigerator Vegetable Pan408GEN WR32X1493409GEN WR32X1530410GEN WR17X4034411GEN WR17X4033414GEN WR14X0431415GEN WR32X1473417GEN WR14X0470421GEN WR17X4035423GEN WR02X6347424GEN WR09X0569425GEN WR02X9320426GEN WR02X8425426GEN WR02X8514427GEN WR23X0316428GEN WR02X9361429GEN WR02X9321430GEN WR17X2209431WR2X9299 GE Refrigerator Air Duct Cap Mullion432GEN WR02X8654434GEN WR02X9431435RANGE ONLY 40W 120V APPL BULB435WR2X9391 GE Socket and Terminal436GEN WR02X7736442GEN WR02X9430447GEN WR02X8262448GEN WR13X0646450GEN WR02X4194451WR13X10020 GE Refrigerator Door Hinge Assembly with Cam452GEN WR02X9442453GEN WR40X1744454GEN WR40X1745455GEN WR40X1746457GEN WR40X1748458GEN WR02X7033458GEN WR40X1749458GEN WR02X4739458GEN WR02X9376479WR72X239 GE Refrigerator Left Hand Slide Assembly479WR72X240 GE Slide Assembly Right Hand480GEN WR72X0253480WR72X252 GE Refrigerator Slide Assembly Left Hand481GEN WR01X2079551GEN WZ04X0244552WR01X10600 GE Refrigerator Screw 12-24 Tapping Hex .811 S Z554WR01X10601 GE Refrigerator Screw 10-24 TT IHXW560GEN WR01X2140578WZ2X464D GE Screw609WR23X37285 GE Light Switch