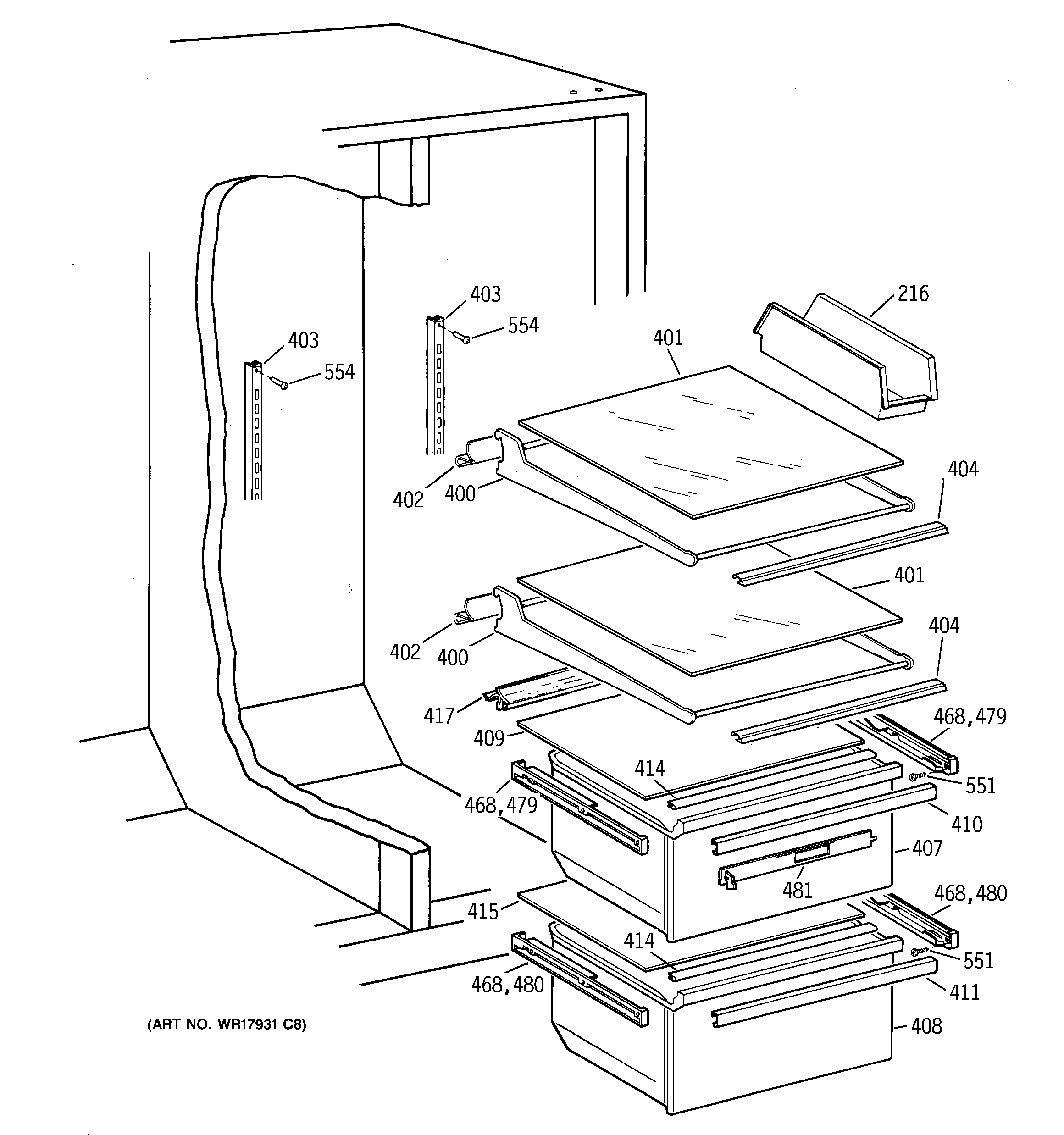
CSX25GPCCAA SHELVES