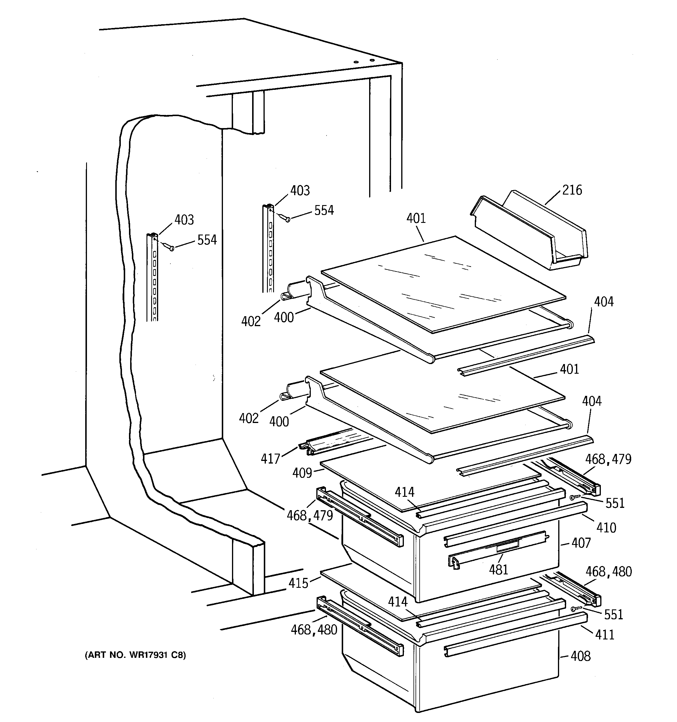
CSX25GPCEAA SHELVES