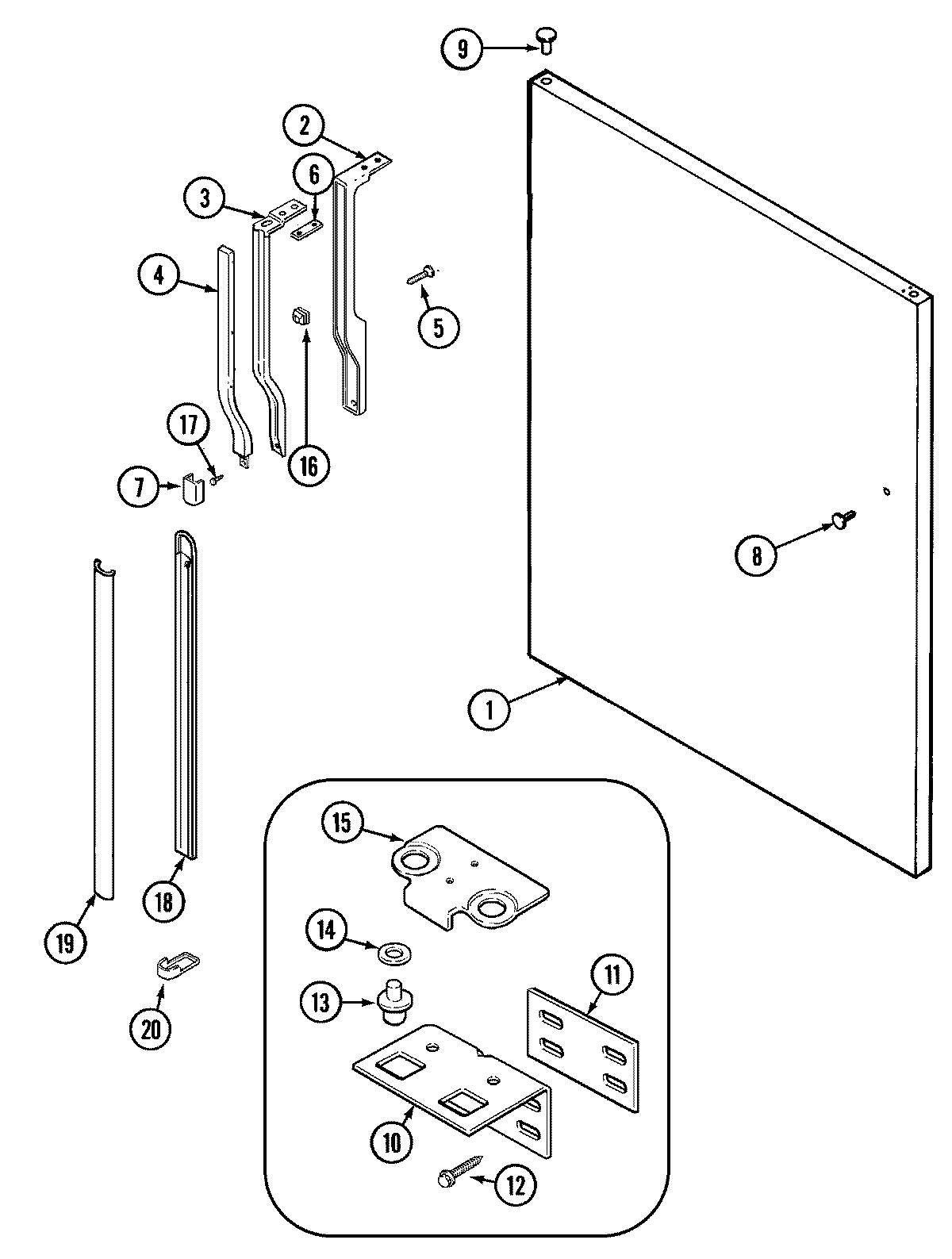
CT19A5B 07 – FRESH FOOD OUTER DOORadmin2025-04-26T11:21:01+00:00CT19A5B 07 – FRESH FOOD OUTER DOOR ProductsPositionProduct1MAY 610024422MAY 70051-23MAY 70052-14MAY 610012095MAY 415033-16MAY 67934-17MAY 70057-38MAY 67678-58MAY 610024439MAY 6100236010MAY 6100236111MAY 61001926123400112 Whirlpool Refrigerator Screw13WP61001925 Whirlpool Refrigerator Lower Pin14MAY 6100203015MAY 6100187615MAY 6100196916MAY 69743-117W10856122 Whirlpool Refrigerator Screw18MAY 6100247719MAY 6100248020MAY 6100187520MAY 70056-1