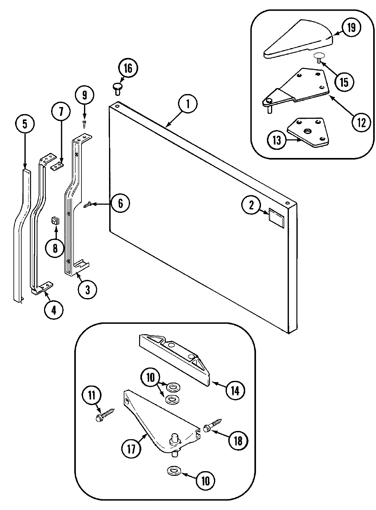
CT19G6FW 07 – FREEZER OUTER DOOR (REV 10)admin2025-04-26T11:19:44+00:00CT19G6FW 07 – FREEZER OUTER DOOR (REV 10) ProductsPositionProduct1MAY 610024022MAY 61002078361005399 Whirlpool Refrigerator White Door Handle3MAY 610017954MAY 610022475MAY 610022486MAY 415033-17MAY 67934-18MAY 69743-19MAY 6100292410WP61002231 Whirlpool Refrigerator Washer Hinge12MAY 61004896123400112 Whirlpool Refrigerator Screw13MAY 6100192214MAY 6100448114W10856122 Whirlpool Refrigerator Screw15MAY 6100192316MAY 6100190817MAY 6100192018MAY 6100202519MAY 61002076