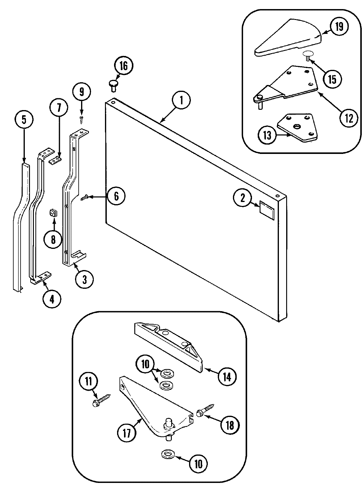
CT19G6Q 07 – FREEZER OUTER DOOR (REV 10)admin2025-04-26T11:19:35+00:00CT19G6Q 07 – FREEZER OUTER DOOR (REV 10) ProductsPositionProduct1MAY 610050142MAY 610049493MAY 610049103MAY 610049074MAY 610022475MAY 610049116MAY 415033-17MAY 67934-18MAY 69743-19MAY 6100292410WP61002231 Whirlpool Refrigerator Washer Hinge123400112 Whirlpool Refrigerator Screw12MAY 6100489613MAY 6100192214W10856122 Whirlpool Refrigerator Screw14MAY 6100491215MAY 6100489916MAY 6100489817MAY 6100489718MAY 6100202519MAY 61004786