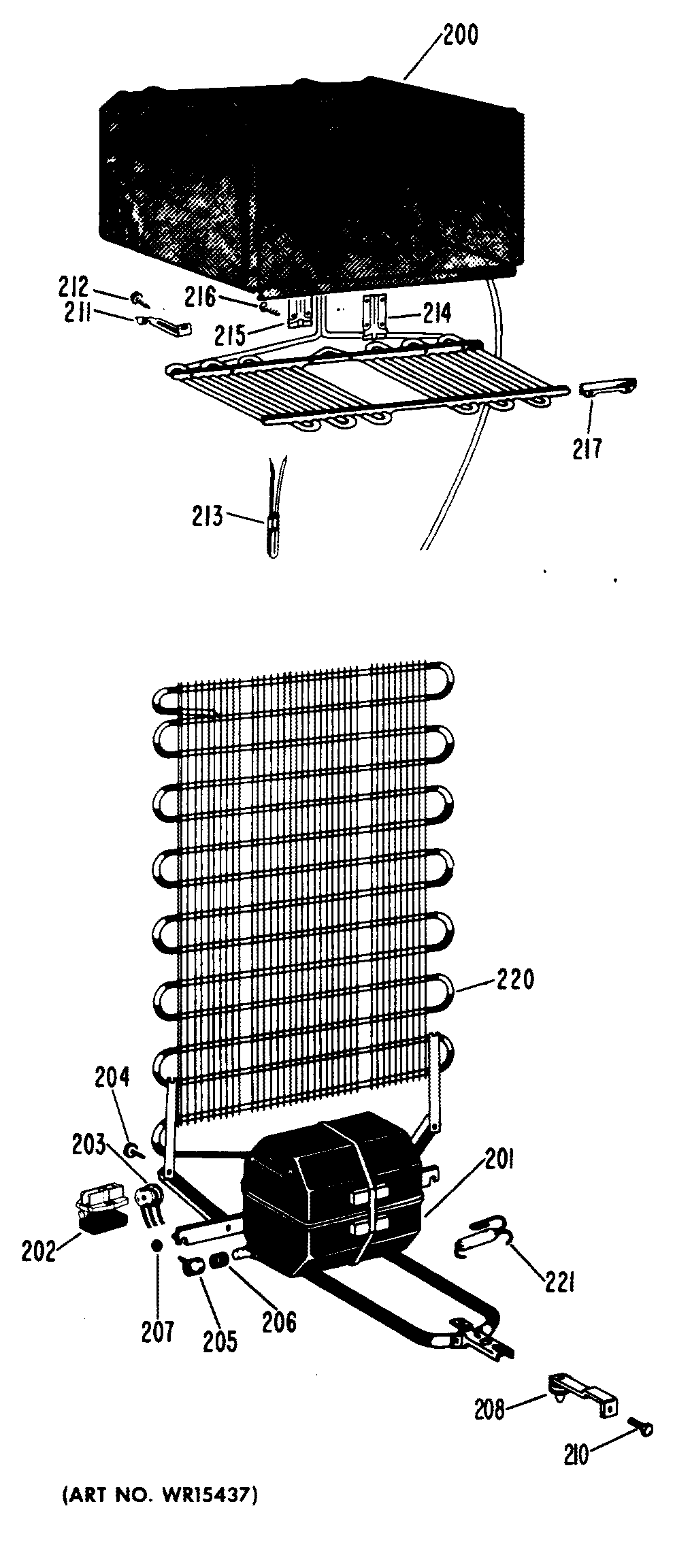
CTA12CAB 2