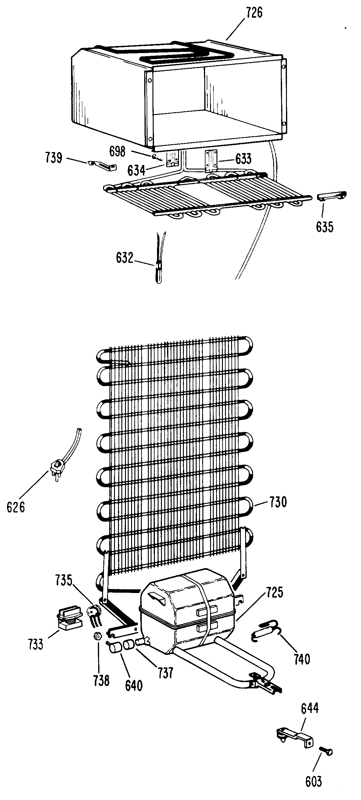
| 603 | WR1X1591 GE Refrigerator Screw |
| 626 | WR23X10300 GE Refrigerator Power Cord Assembly |
| 626 | WR1X5278 GE Refrigerator Cable Clamp |
| 626 | CLAMP POWER CORD |
| 632 | GEN WR51X0084 |
| 633 | CLAMP HTR |
| 634 | CLAMP HTR |
| 640 | CUP COMP & BOLT ASM |
| 644 | GEN WR02X2375 |
| 644 | TONGUE ASM |
| 698 | GEN WX04X0261 |
| 725 | GEN WR87X0039 |
| 726 | REFRIGERANT 6 OZ. |
| 726 | MACHINE LOW SIDE |
| 730 | GEN WR84X0016 |
| 733 | RELAY COMP |
| 735 | GEN WR08X0030 |
| 737 | SLEEVE COMP MTG |
| 738 | NUT MACH |
| 739 | CLIP COND UPPER |
| 740 | WR86X25269 GE Refrigerator R134 Dryer |