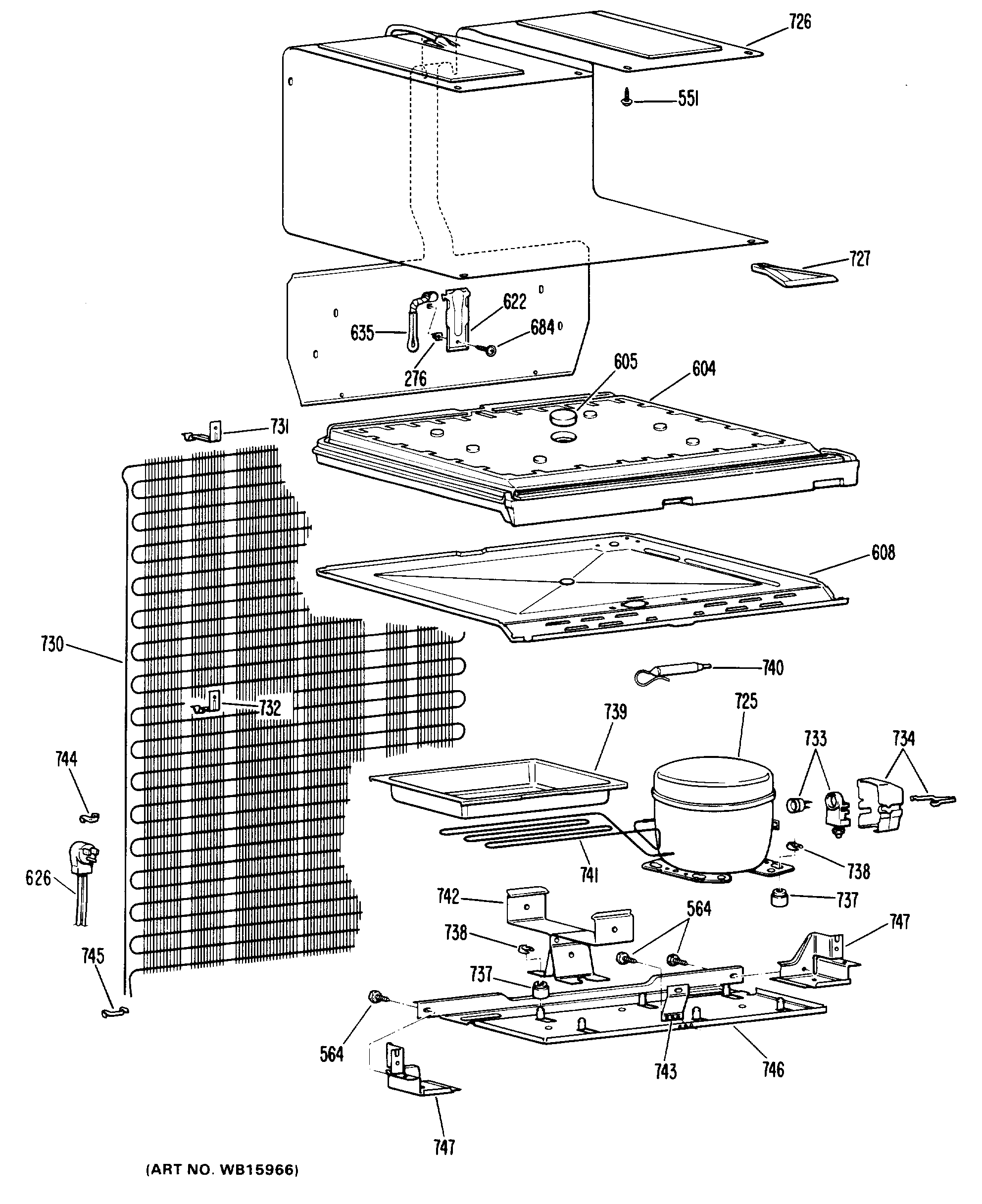
CTA13CGBR 2