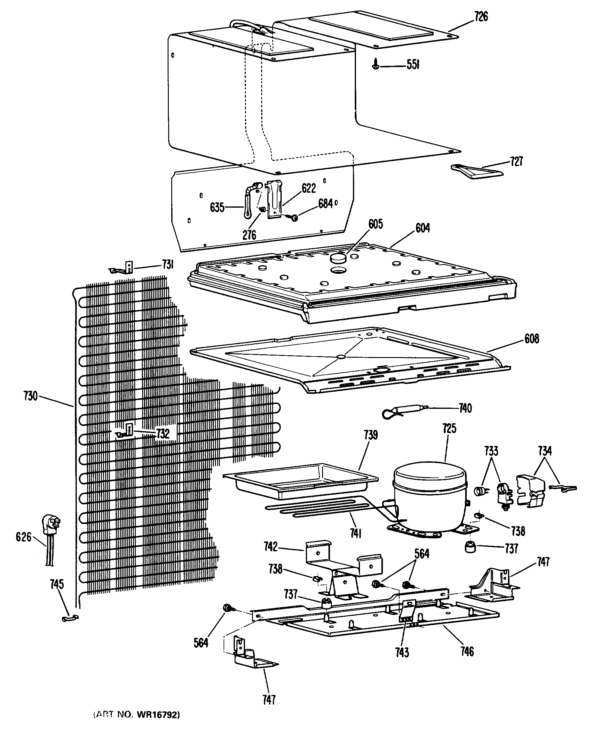
CTA13CJCRAD 2