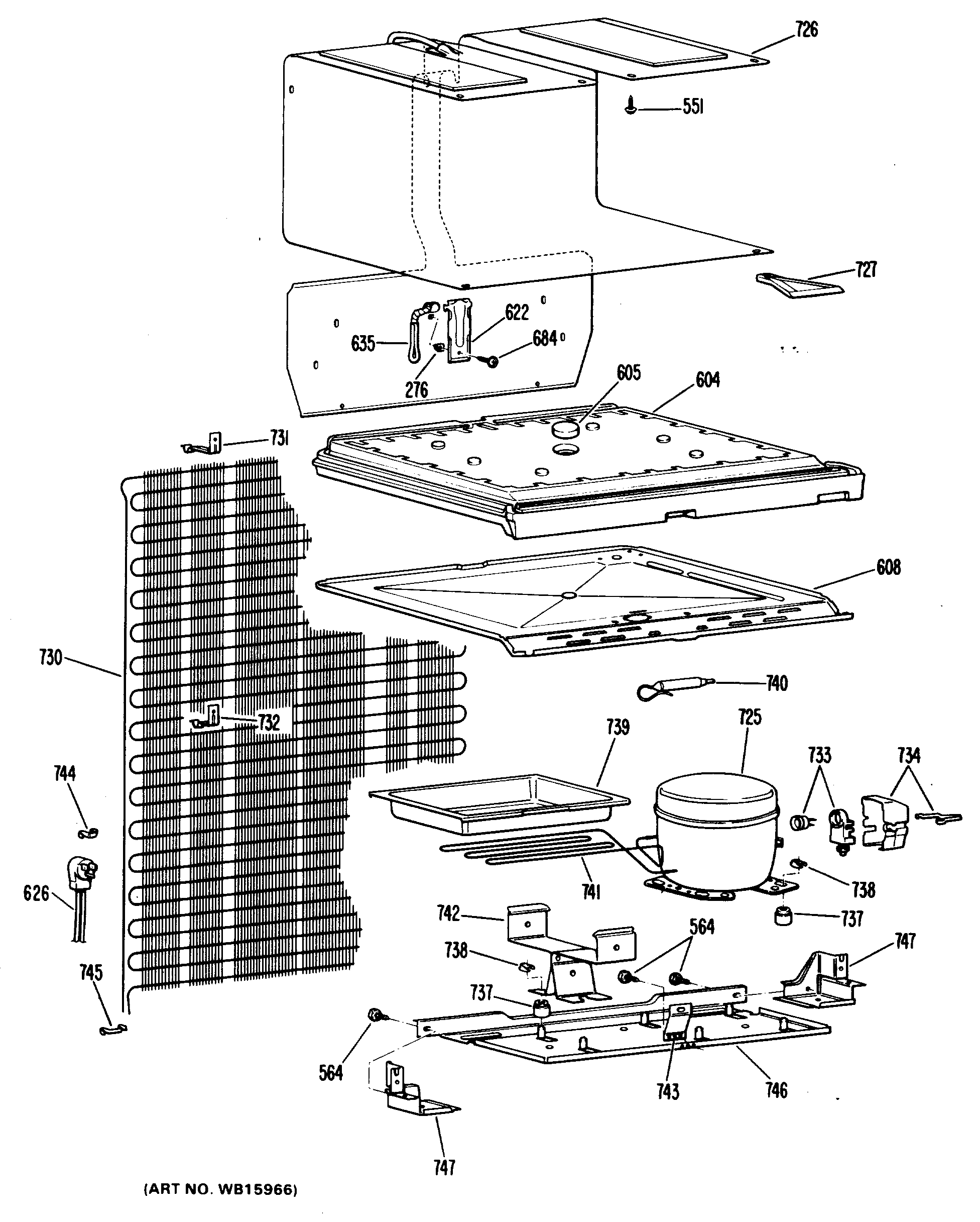
CTA15CGER 2