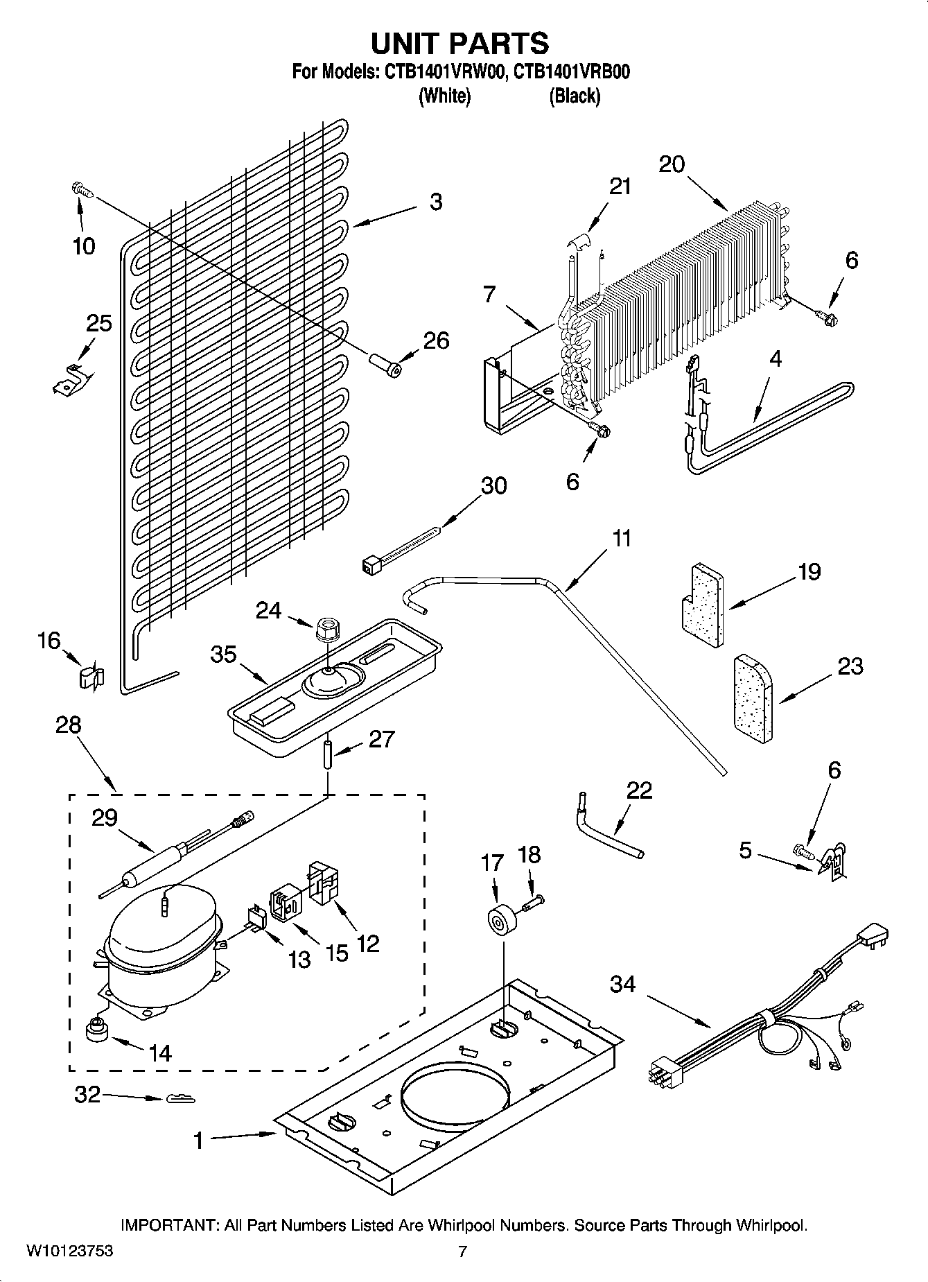
CTB1401VRW00 04 – UNIT PARTSadmin2025-04-26T10:53:18+00:00CTB1401VRW00 04 – UNIT PARTS ProductsPositionProduct1MAY 22218863MAY 22527304MAY 22637495MAY 5491936MAY 4894427MAY 231922410MAY 853389211MAY 226456312Cover (Production)12COVER ((SERVICE ONLY))13OVERLOAD13Overload (Service Only)14MAY 438755814MAY 222208415MAY 225845016MAY 93905417Roller18RIVET, AXLE19Wedge-Evap.20EVAPORATOR ASSEMBLY21Clip, Evaporator Tube22MAY 232072823MAY 226219224MAY 48915325MAY 217289226MAY 225845227MAY 217684428COMPRESSOR (ALSO ORDER 482801 INSTALLATION KIT &876765 TUBE KIT)29Drier30MAY 226399032MAY 2436400134Wire Assembly Unit35VALVE, ACCESS (3/8``)35VALVE, ACCESS (1/4``)35MAY 87676435Valve, Access (5/8``)35Valve, Access (5/16``)35MAY 217666835Valve, Access (3/4``)3512658531CQ Whirlpool Refrigerator DOR-FIP Board35Valve, Access (1/2``)