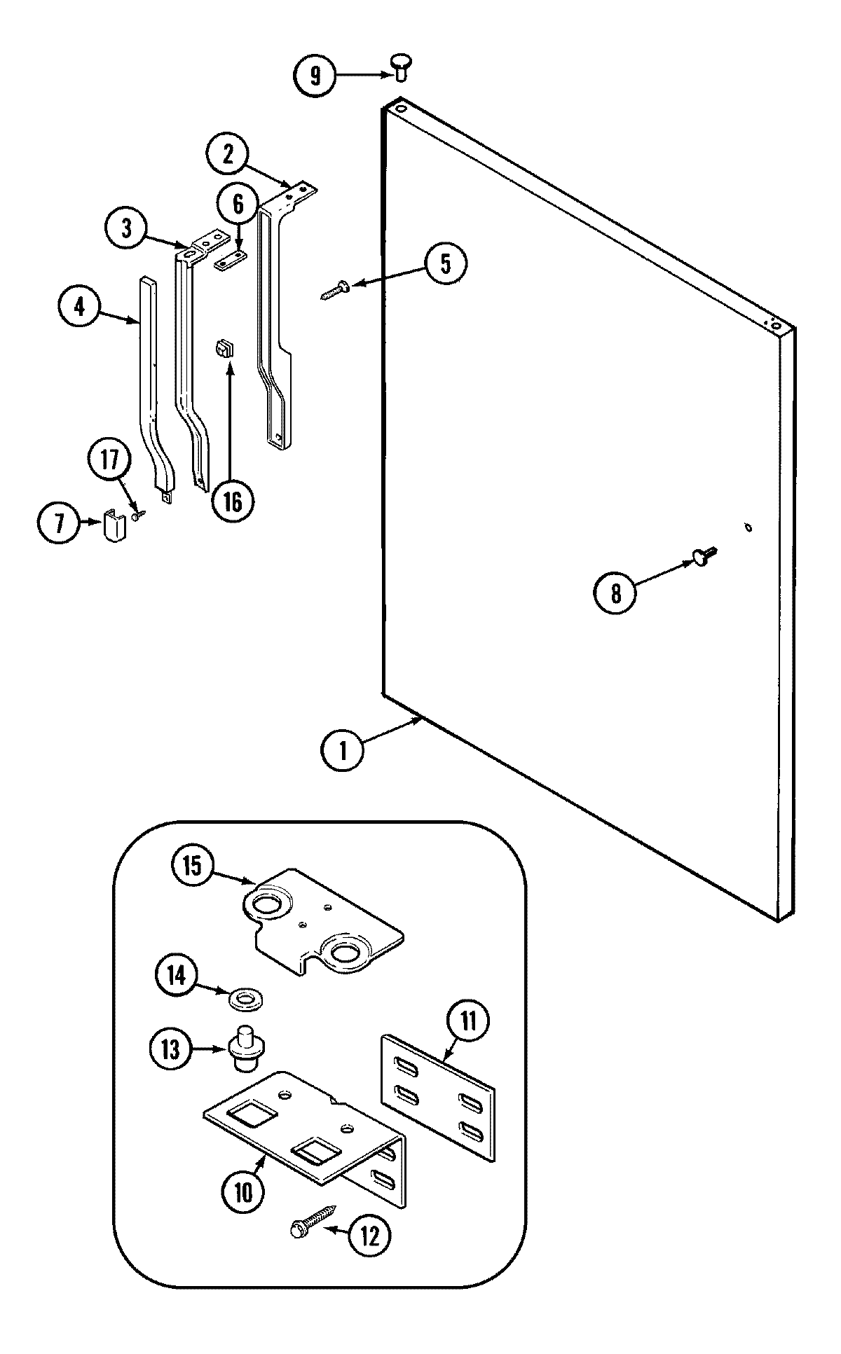
CTB1925DRB 07 – FRESH FOOD OUTER DOORadmin2025-04-26T11:18:50+00:00CTB1925DRB 07 – FRESH FOOD OUTER DOOR ProductsPositionProduct1MAY 610024422MAY 610027532MAY 610029243MAY 70052-14MAY 70053-205MAY 415033-16MAY 67934-17MAY 70058-38MAY 67678-58MAY 610024439MAY 6100236010MAY 6100236111MAY 61001926123400112 Whirlpool Refrigerator Screw13WP61001925 Whirlpool Refrigerator Lower Pin14WP61002231 Whirlpool Refrigerator Washer Hinge15MAY 6100196915MAY 6100187616MAY 69743-117W10856122 Whirlpool Refrigerator Screw