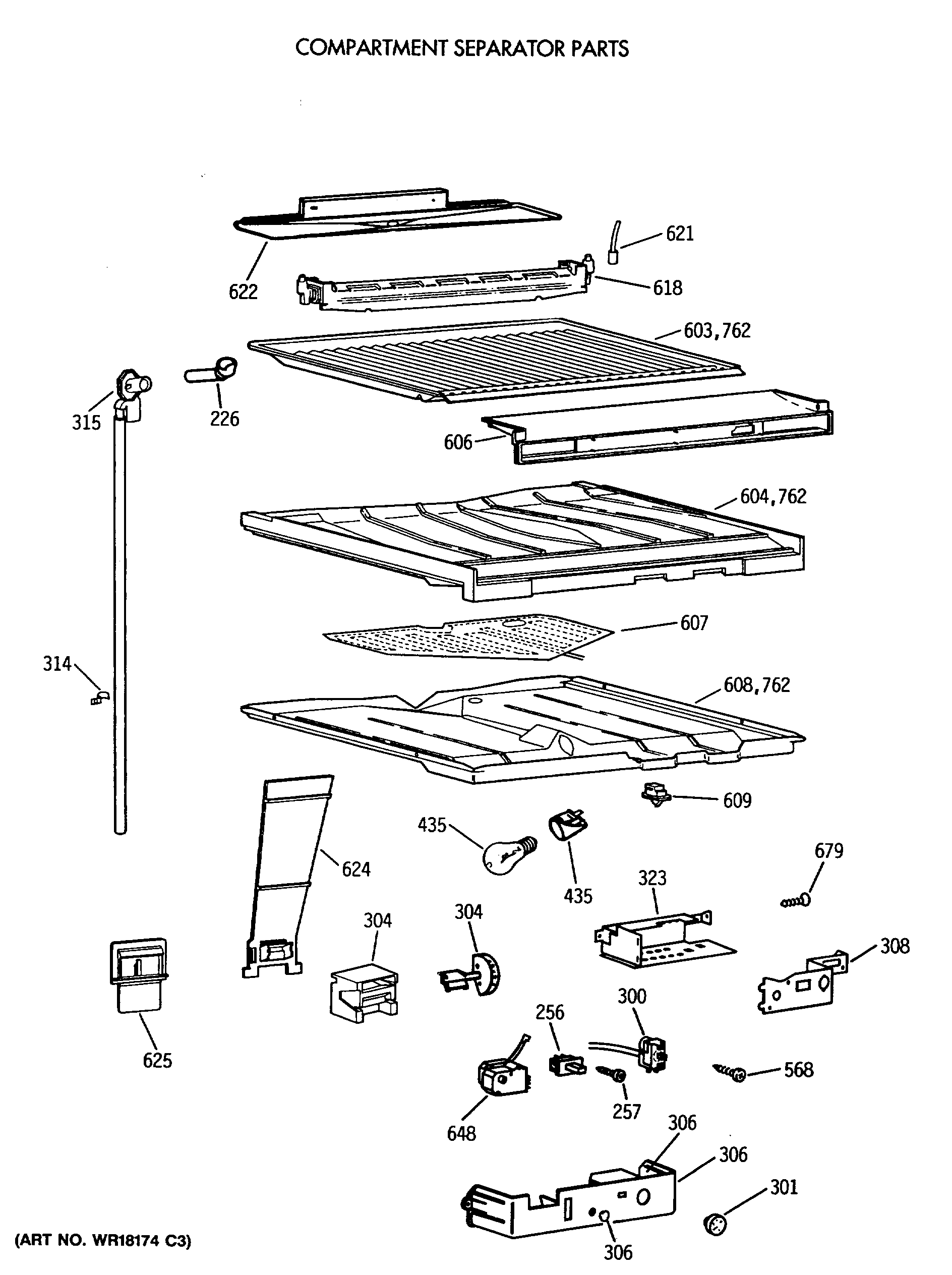
CTE24GASMRWH COMPARTMENT SEPARATOR PARTS