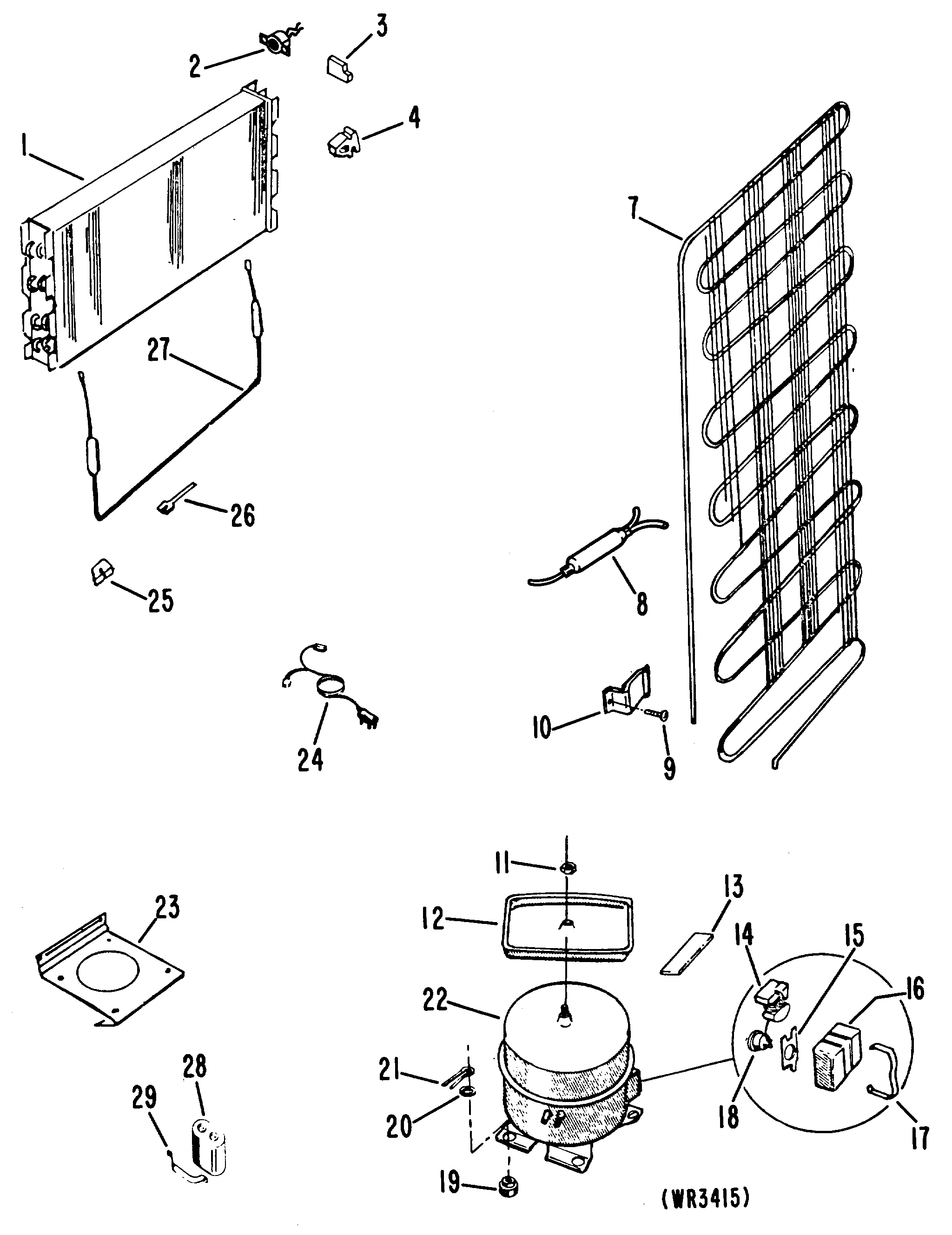
CTF14BJC 1