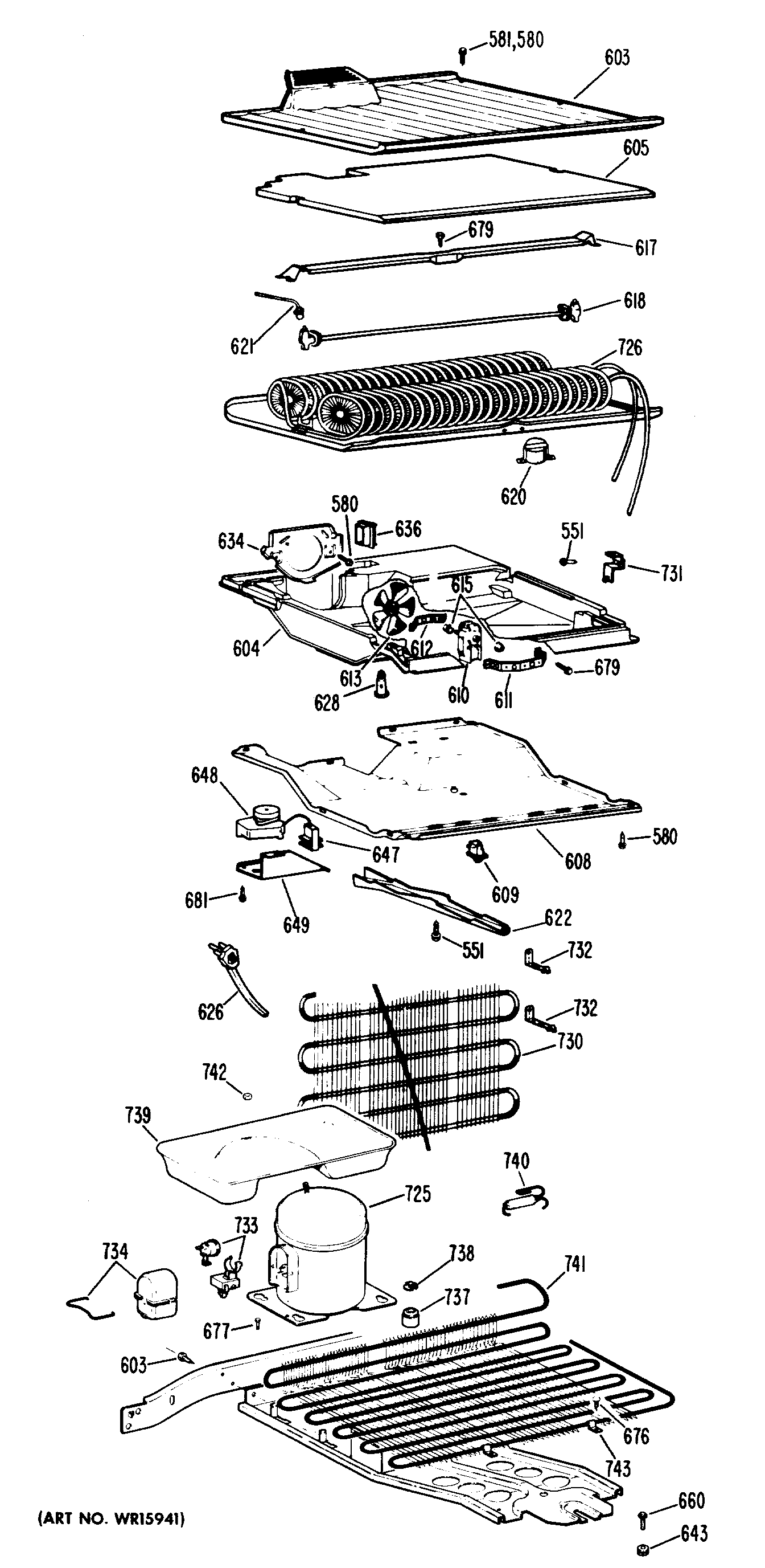
| 551 | GEN WZ04X0244 |
| 580 | GEN WR01X1557 |
| 581 | SCR 8-18 BAT TR 3/4SSPLW |
| 603 | WR1X1591 GE Refrigerator Screw |
| 603 | GEN WR17X1338 |
| 604 | GEN WR17X1625 |
| 604 | GEN WR14X0268 |
| 605 | GEN WR17X1346 |
| 608 | GEN WR17X1626 |
| 609 | WR23X37285 GE Light Switch |
| 611 | GEN WR02X6194 |
| 612 | BRACKET EVAP FAN |
| 613 | WR60X114 GE Refrigerator Evaporator Motor Fan Blade |
| 615 | GEN WR02X2945 |
| 617 | GEN WR02X6166 |
| 618 | GEN WR51X0211 |
| 620 | WR50X55 GE Refrigerator Defrost Thermostat 55 Degree with Clip |
| 621 | GEN WR02X4495 |
| 622 | GEN WR17X5809 |
| 626 | WR1X5278 GE Refrigerator Cable Clamp |
| 626 | WR23X10300 GE Refrigerator Power Cord Assembly |
| 628 | GEN WR02X4711 |
| 628 | GEN WR02X4712 |
| 634 | ORIFICE EVAP. FAN |
| 636 | GEN WR02X4997 |
| 643 | GEN WR02X7098 |
| 647 | GEN WR23X0204 |
| 648 | WR9X502 GE Refrigerator Defrost Timer |
| 649 | GEN WR02X7107 |
| 660 | GEN WZ06X0135 |
| 676 | WD2X5166 GE Dishwasher Screw |
| 677 | GEN WR01X1467 |
| 679 | SCREW BRKT. EVAP. FAN |
| 679 | SCR 8-18 AB HX 3/8 S |
| 681 | SCREW 6-18 X 1/2" ROUND |
| 725 | HI-SIDE |
| 726 | REFRIGERANT |
| 726 | GEN WR85X0065 |
| 730 | GEN WR84X0092 |
| 731 | GEN WR02X4721 |
| 731 | GEN WR02X4722 |
| 732 | GEN WR02X7100 |
| 733 | RELAY/OVERLOAD ASM. |
| 734 | COVER-RELAY |
| 734 | CLIP-COVER |
| 736 | GEN WR02X4998 |
| 737 | GEN WR02X7238 |
| 739 | DRAIN PAN |
| 740 | WR86X25269 GE Refrigerator R134 Dryer |
| 741 | GEN WR84X0091 |
| 742 | GEN WR01X1691 |
| 743 | GEN WR02X7250 |