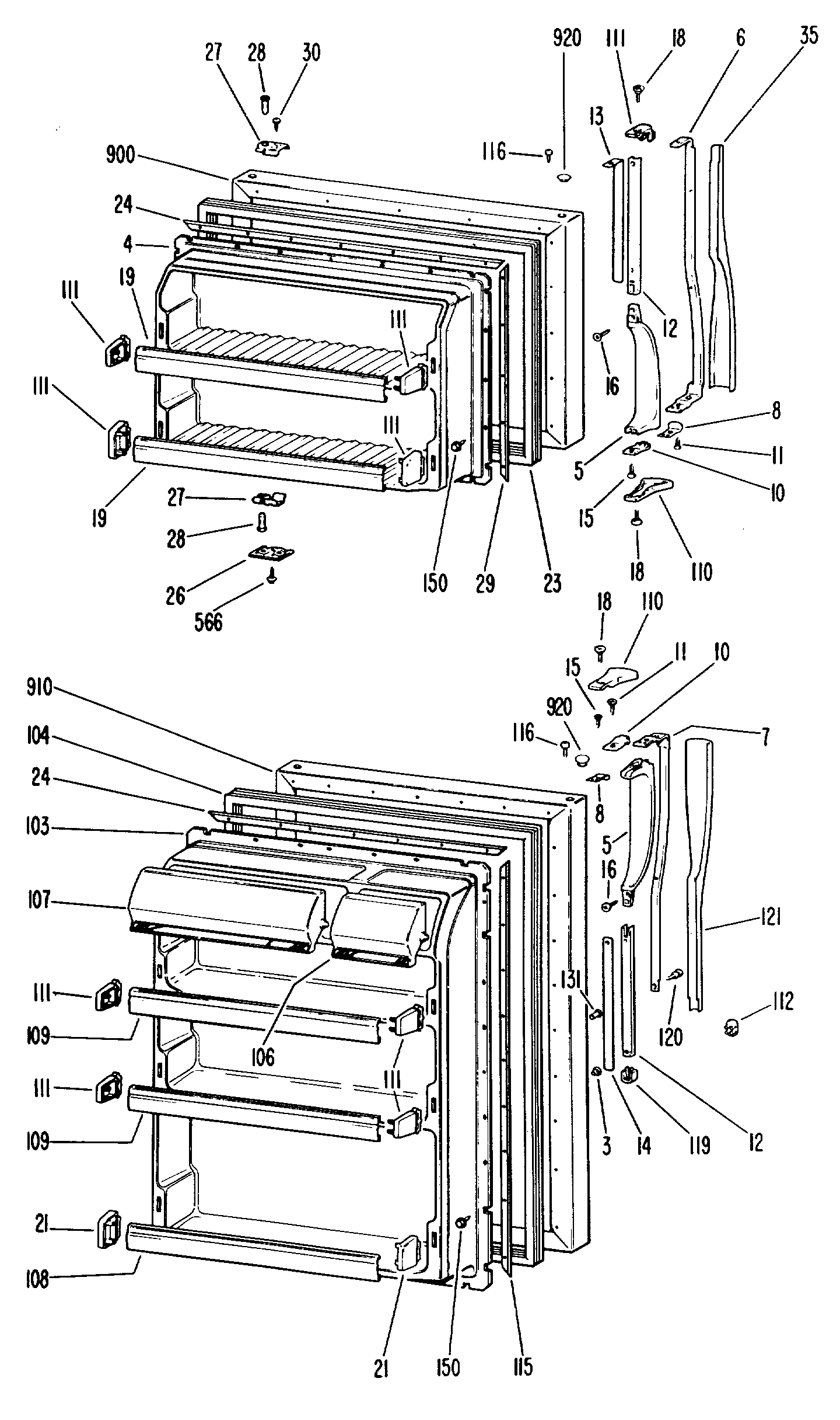
CTF16GKD 0admin2025-04-26T08:38:42+00:00CTF16GKD 0 ProductsPositionProduct3GEN WR02X37574GEN WR77X04555GEN WR12X04636GEN WR12X06547GEN WR12X06558GEN WR02X47308GEN WR02X779310GEN WR02X714011SCREW 8-18 B 7/1612GEN WR12X045513GEN WR02X630314GEN WR02X492616GEN WR01X156518SCREW-PKG 1219GEN WR71X170721GEN WR02X693423GEN WR24X031224GEN WR02X470426GEN WR02X728227GEN WR02X790828GEN WR02X627829GEN WR02X470330SCREW35GEN WR12X0653103GEN WR77X0456104GEN WR24X0319106GEN WR22X0315107GEN WR22X0316108GEN WR71X1708109GEN WR71X1709110GEN WR02X7913111GEN WR02X7283111GEN WR02X7792112NAMEPLATE DR RSV(WH)115GEN WR02X7102119GEN WR02X4928120GEN WR01X1592121GEN WR12X0522131GEN WR01X1567150GEN WR01X5030242GEN WR02X7052564GEN WR01X1194565POP RIVET566GEN WR01X1487582GEN WR01X1138750GEN WR82X0177920GEN WR02X4930921GEN WR02X4931922GEN WR02X4932923GEN WR02X4933924GEN WR02X493432767GEN 31-501032767GEN 39-6261