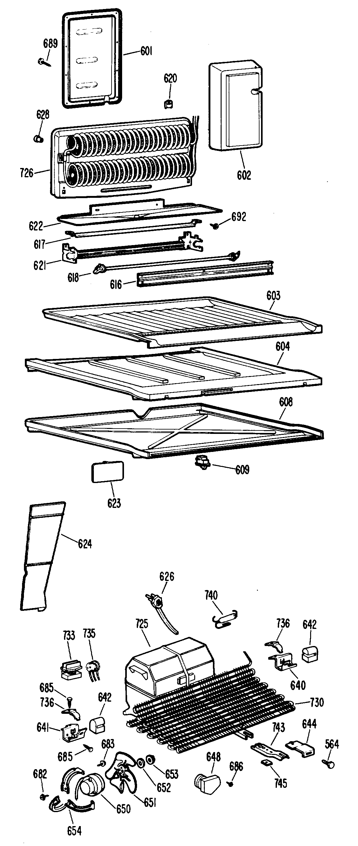
CTF17ECBR 2