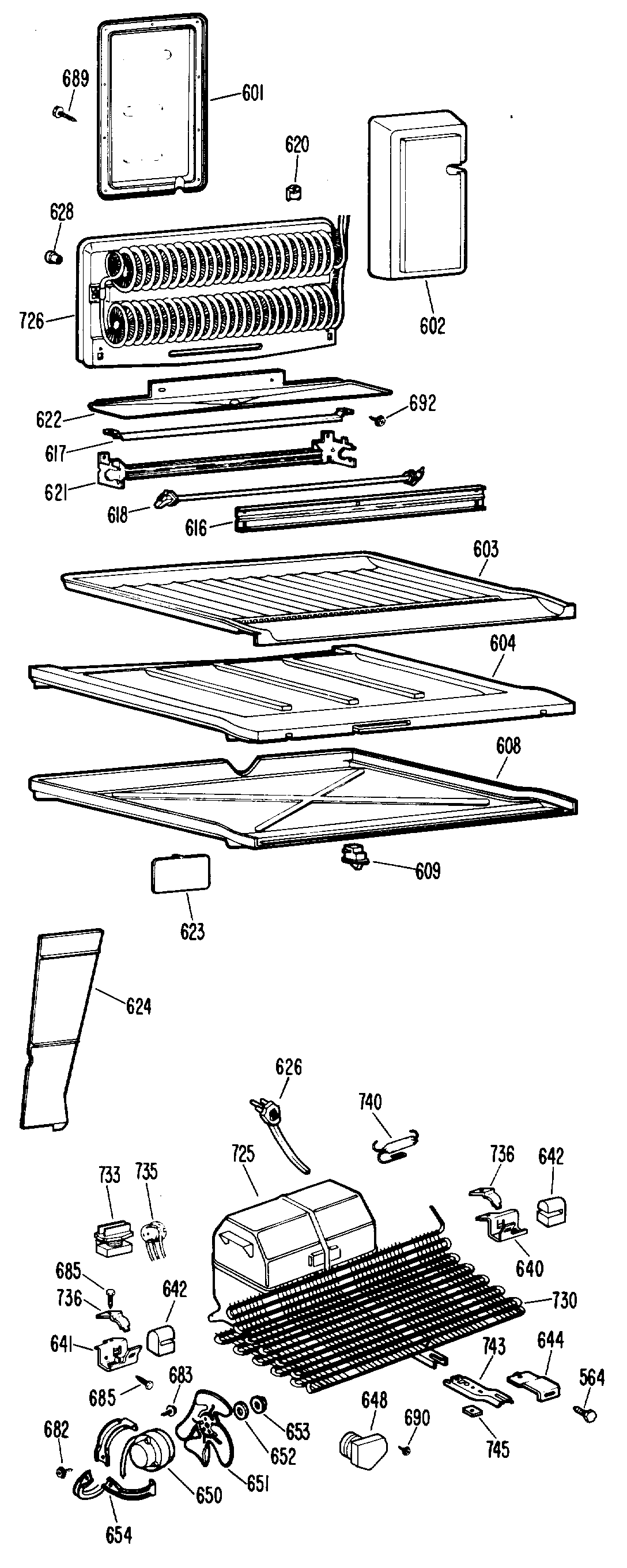
CTF17GBFR 2