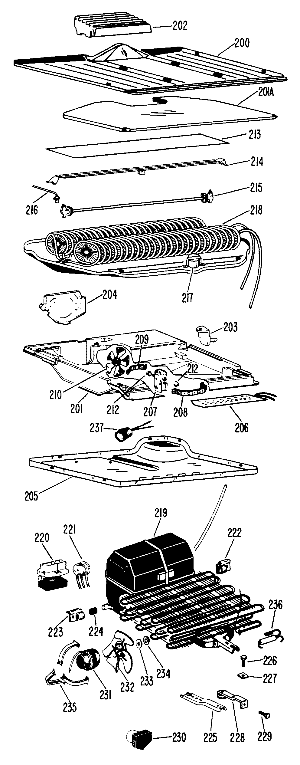
| 200 | SCR 8-18 BAT TR 3/4SSPLW |
| 200 | BRACKET-FRZ. BTM. |
| 200 | GEN WR17X5729 |
| 200 | GEN WR02X4028 |
| 201 | COVER ONLY |
| 201 | EVAPORATING HOUSING W/CO |
| 202 | GEN WR74X0100 |
| 203 | GEN WR02X3357 |
| 204 | ORIFICE ONLY |
| 205 | GEN WR01X1326 |
| 205 | SCREW 10-24X1/2 |
| 205 | SCREW 8-40X1/2 SPEC DRIL |
| 205 | GEN WR17X5827 |
| 206 | GEN WR51X0228 |
| 207 | GEN WR60X0108 |
| 208 | GEN WR02X6194 |
| 209 | BRACKET SMALL |
| 209 | SCR 8-18 AB HX 3/8 S |
| 210 | WR60X114 GE Refrigerator Evaporator Motor Fan Blade |
| 212 | GEN WR02X2945 |
| 213 | GEN WR17X1026 |
| 214 | GEN WR02X6132 |
| 215 | HEATER DEFROST |
| 216 | GEN WR02X4495 |
| 217 | DEFROST THERMOSTAT |
| 217 | SCREW - SPACER |
| 218 | GEN WR85X0061 |
| 219 | BAFFLE (FIBER)-CONDENSER |
| 219 | GEN WR84X0023 |
| 219 | REFRIGERANT 4 1/2 OZ. |
| 219 | REFRIGERANT 6 OZ. |
| 219 | WR87X10082 GE Refrigerator Compressor Replacement Kit |
| 220 | GEN WR07X0124 |
| 221 | GEN WR02X3583 |
| 221 | GEN WR08X0044 |
| 221 | COVER RELAY |
| 222 | CUP & BRACKET ASM-R. SIDE |
| 223 | CUP & BRACKET ASM-L. SIDE |
| 224 | SLEEVE COMP MTG |
| 225 | GEN WR02X4623 |
| 226 | SCREW MACHINE MTG. REAR 1/4-14 X 7/8 |
| 227 | NUTSTRIP COMP MTG D/J |
| 228 | TONGUE ASM |
| 229 | GEN WR01X1194 |
| 230 | WR9X480 GE Defrost Timer |
| 230 | GEN WZ04X0220 |
| 230 | BRACKET DEF CONTROL |
| 231 | WR60X177 GE Condenser Fan Motor |
| 232 | GEN WR60X0117 |
| 233 | GEN WR02X4191 |
| 234 | GEN WR01X1515 |
| 235 | SCREW FAN MTR/BRKT |
| 235 | SCR 8-36 T HX 7/16 S XTW |
| 235 | BRACKET COND FAN |
| 236 | WR86X25269 GE Refrigerator R134 Dryer |
| 237 | SOCKET LAMP |
| 237 | GEN 39-6158 |