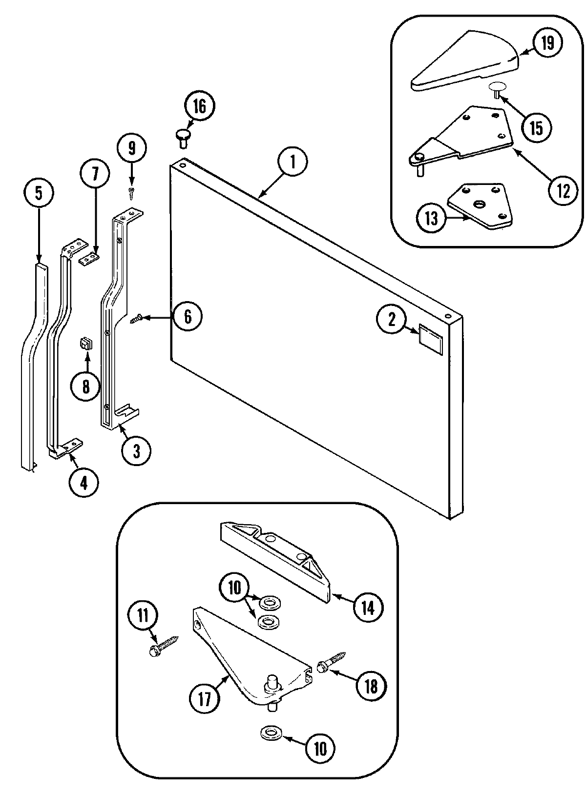
CTF1925GRW 06 – FREEZER OUTER DOOR (REV. 10-11)admin2025-04-26T11:17:39+00:00CTF1925GRW 06 – FREEZER OUTER DOOR (REV. 10-11) ProductsPositionProduct1MAY 610057401MAY 610024022MAY 66982-313MAY 61001795361005399 Whirlpool Refrigerator White Door Handle4MAY 610022475MAY 610022486MAY 415033-17MAY 67934-18MAY 69743-19MAY 6100292410WP61002231 Whirlpool Refrigerator Washer Hinge12MAY 61004896123400112 Whirlpool Refrigerator Screw13MAY 6100192214W10856122 Whirlpool Refrigerator Screw14MAY 6100448115MAY 6100192316MAY 6100190817MAY 6100192018MAY 6100202519MAY 61002076