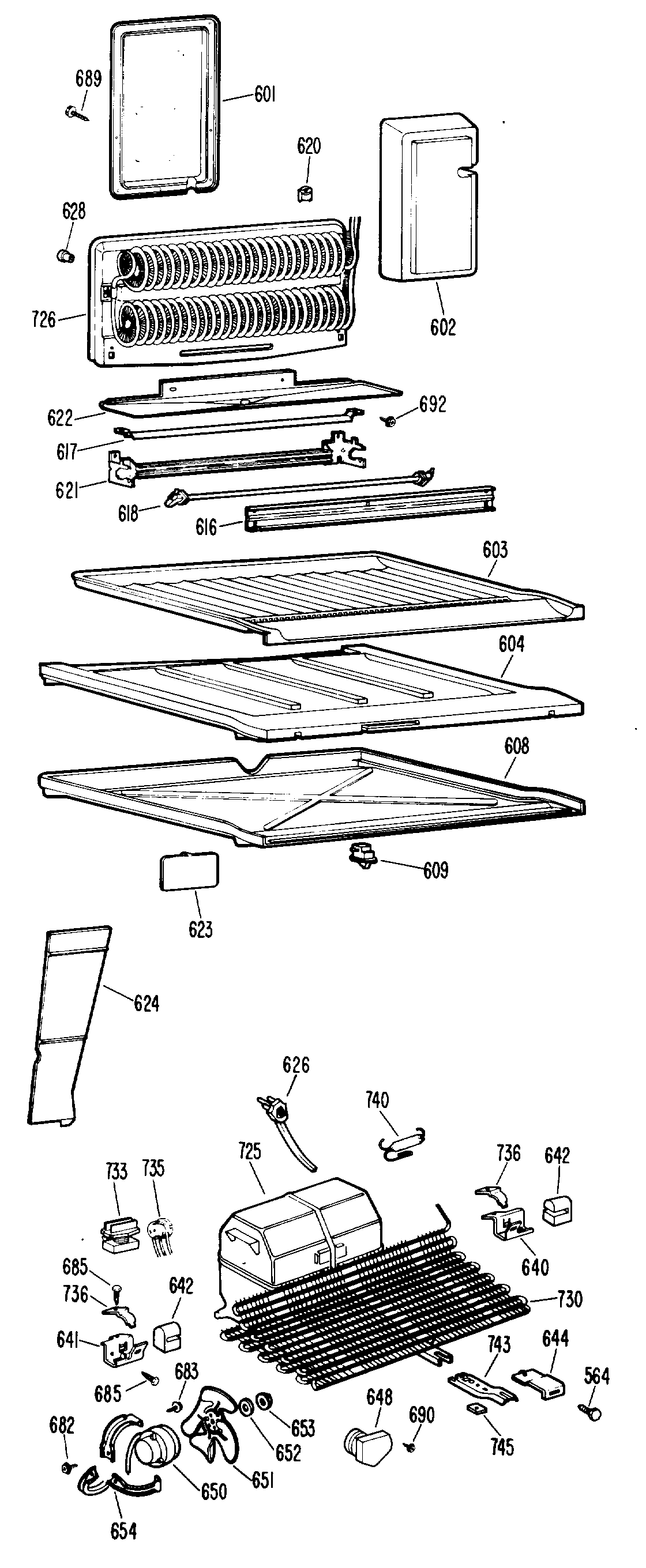
CTF19EBDR 2