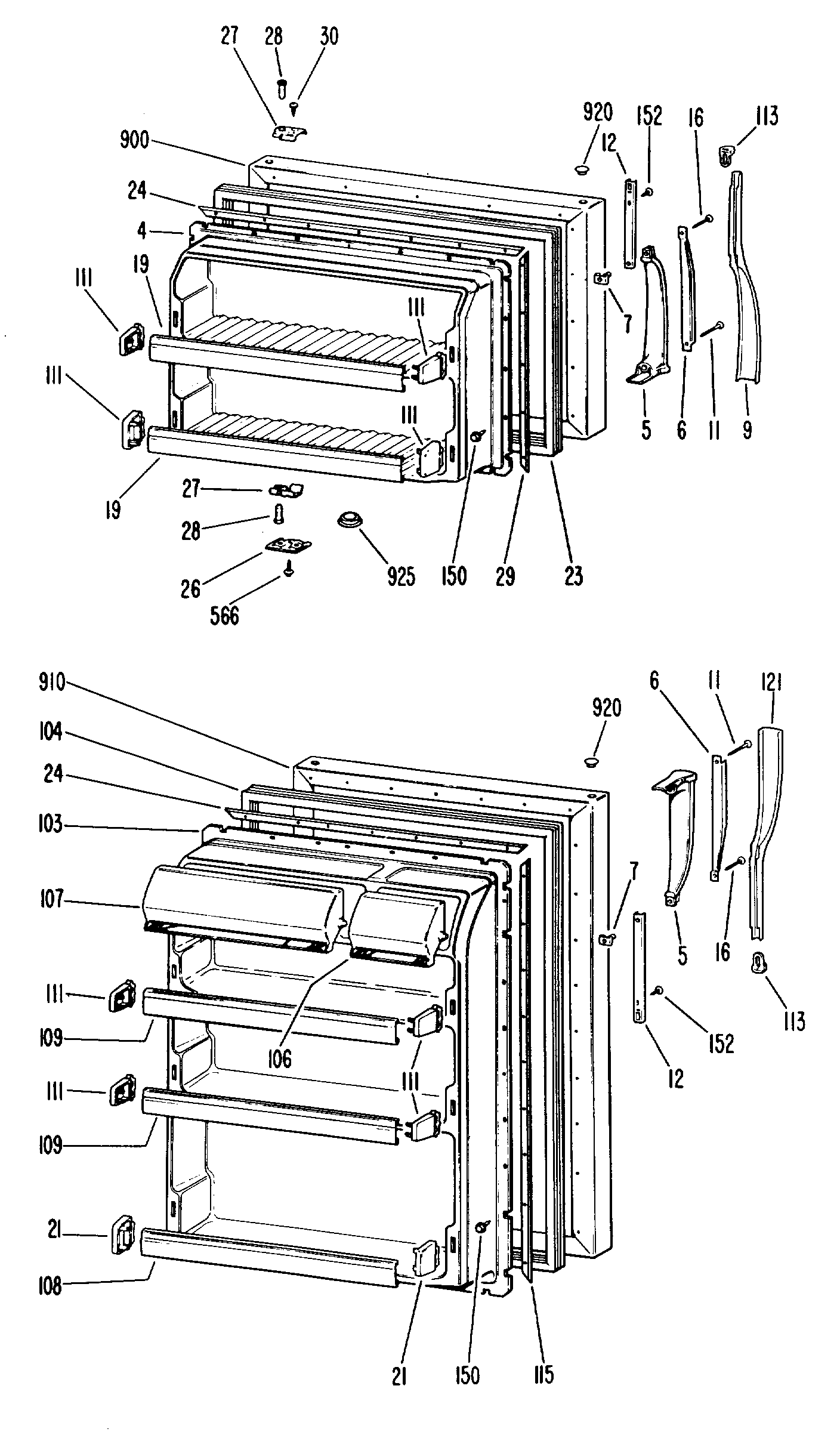
CTFP16CLCR 0