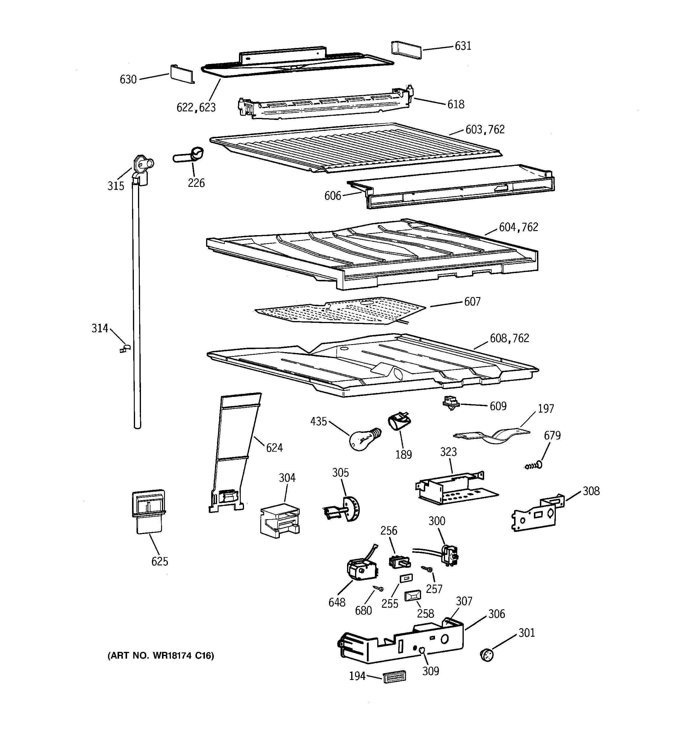
CTK24GAXGRAA COMPARTMENT SEPARATOR PARTSadmin2025-04-26T08:37:59+00:00CTK24GAXGRAA COMPARTMENT SEPARATOR PARTS ProductsPositionProduct189WR2X9014 GE Refrigerator Socket & Terminal C02194GEN WR02X8380197GEN WR02X9013226GEN WR02X7640255GEN WR02X9152256GEN WR23X0408257WZ5X158D GE Screw Package of 12258GEN WR02X9369300WR2X8344 GE Refrigerator Vinyl Sleeve300GEN WR09X0562301GEN WR02X9151304GEN WR02X8363305GEN WR02X9565306GEN WR17X4178307GEN WR02X7669308GEN WR02X7768309GEN WR02X7652314GEN WR02X8503315GROMMET DRAIN & TUBE323GEN WR02X7767435WR02X12207 GE Refrigerator Net Bulb Light603GEN WR17X2138604INSUL DIVIDER606GEN WR17X2380607GEN WR51X0455608GEN WR17X2765609WR23X37285 GE Light Switch618HTR & BRKT ASM DEF622GEN WR17X2160623GEN WR14X0348624GEN WR17X3934625GEN WR17X4059630GEN WR17X3694631GEN WR17X3695648GEN WR09X0572679SCREW BRKT. EVAP. FAN680WR1X1850 GE Refrigerator Screw762GEN WR14X0313