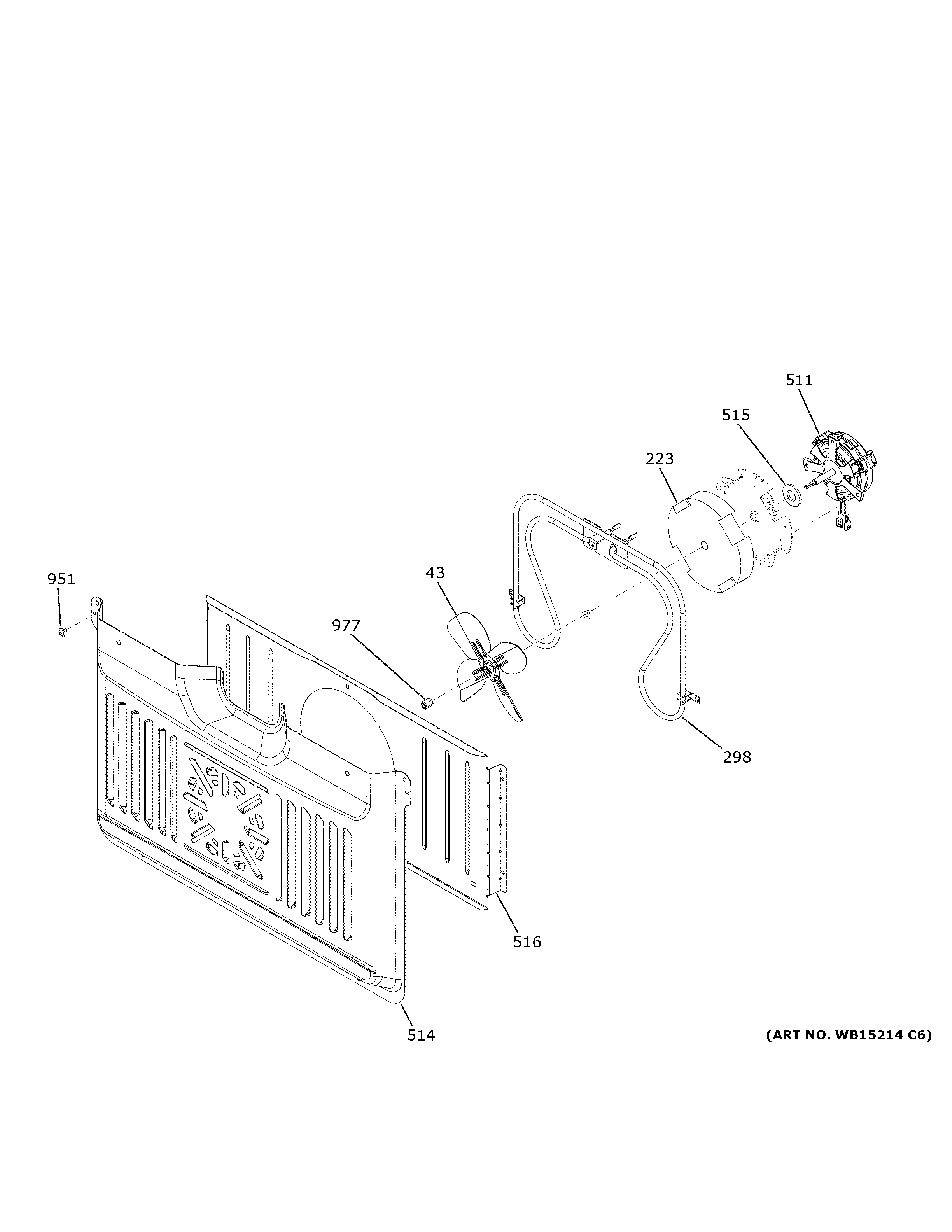
CTS90DP2N2S1 CONVECTION FAN