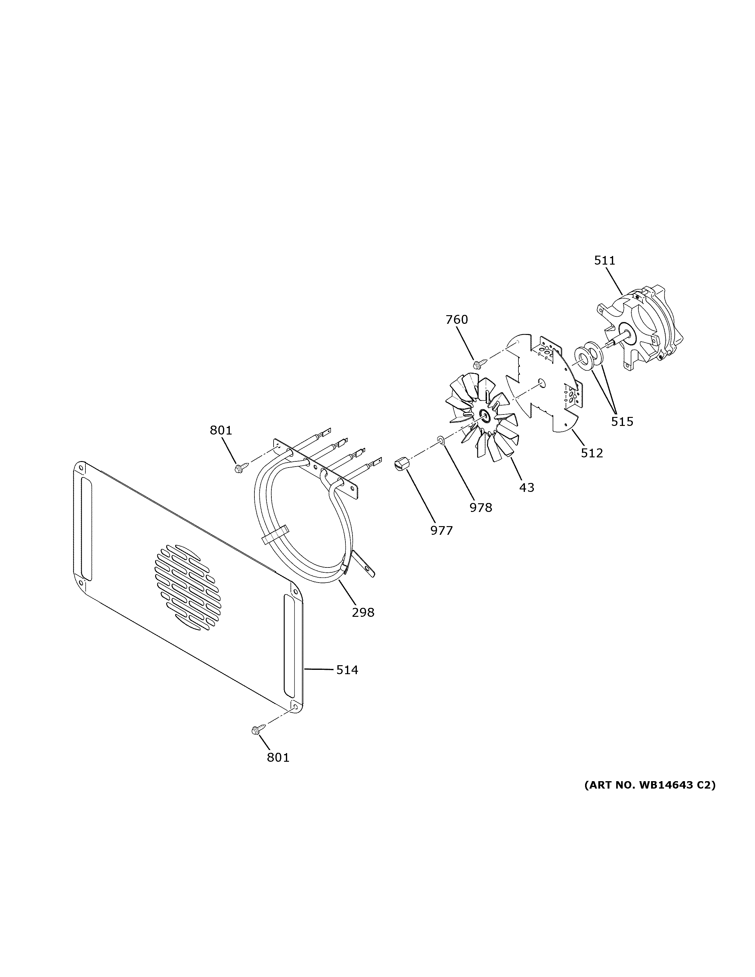
CTS92DM2N1S5 CONVECTION FANadmin2025-04-26T08:38:14+00:00CTS92DM2N1S5 CONVECTION FAN ProductsPositionProduct43WB02T10289 GE Oven Stirring Fan Blade298WB44T10093 GE Oven Convection Element Assembly511WB26X34631 GE Convection Fan Motor512WB02T10445 GE Bracket Motor Mounting Convex514CONV FAN COVER515WB01T10079 GE Range Gasket760WB1X536 GE Oven Screw801WB01M10002 GE Oven Screw977WB02T10017 GE Oven Nut978WB01X36465 GE Washer Spring