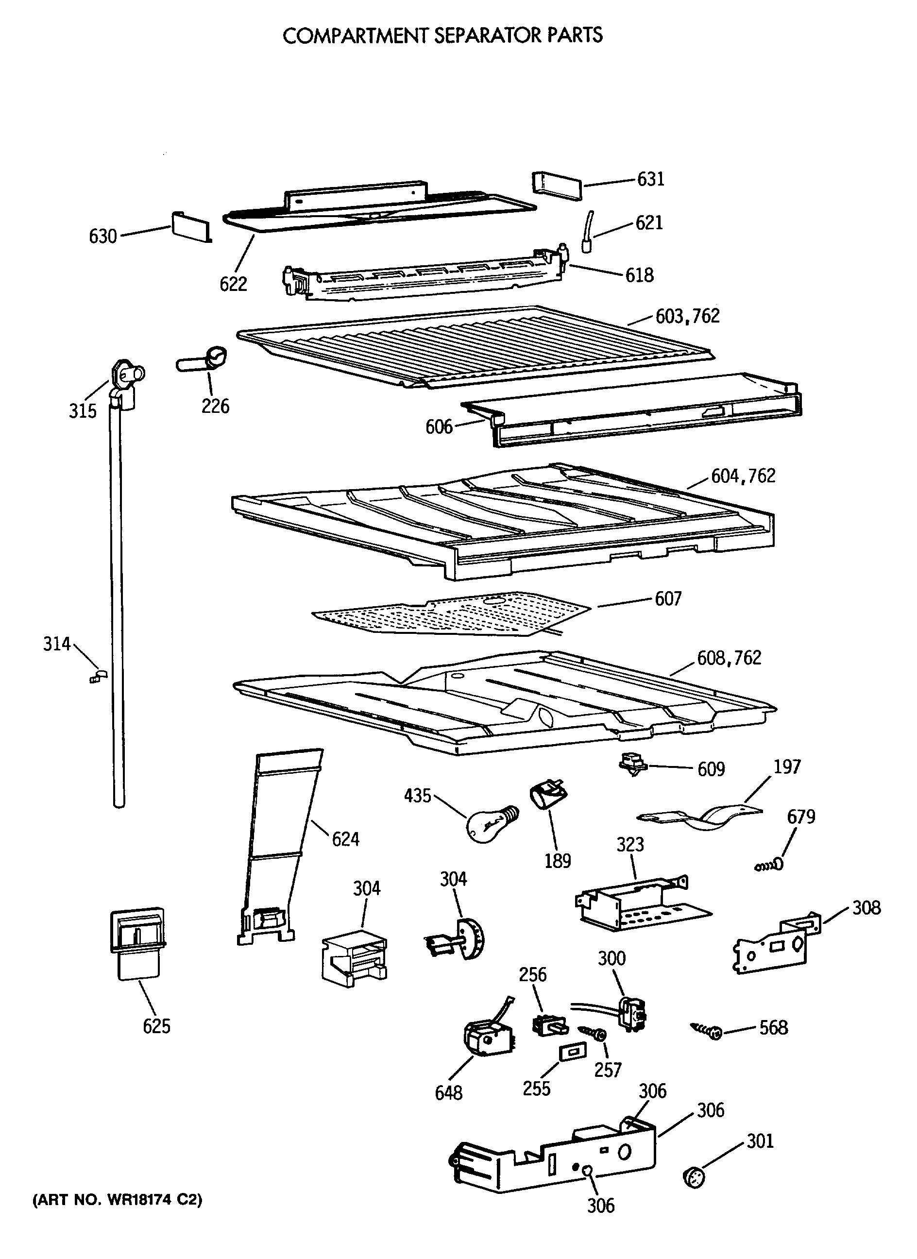
CTT18GATERWH COMPARTMENT SEPARATOR PARTS