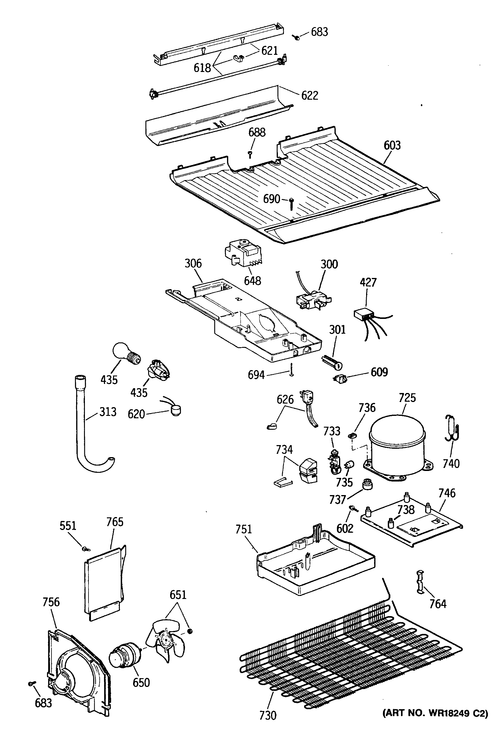
| 300 | WR2X8344 GE Refrigerator Vinyl Sleeve |
| 300 | GEN WR09X0545 |
| 301 | GEN WR02X8231 |
| 306 | WR17X12852 GE Refrigerator Control Housing |
| 313 | TUBE DRAIN |
| 427 | GEN WR23X0358 |
| 435 | WR2X9391 GE Socket and Terminal |
| 435 | RANGE ONLY 40W 120V APPL BULB |
| 551 | GEN WZ04X0244 |
| 602 | WR1X1591 GE Refrigerator Screw |
| 603 | GEN WR17X2630 |
| 609 | WR23X37285 GE Light Switch |
| 618 | WR51X444 GE Refrigerator Heater Assembly |
| 620 | WR50X134 GE Refrigerator 63 Degree Defrost Thermostat Terminator |
| 621 | HOLDER HTR ELEMENT |
| 621 | GEN WR02X8517 |
| 622 | GEN WR17X2635 |
| 626 | WR1X5278 GE Refrigerator Cable Clamp |
| 626 | WR23X10300 GE Refrigerator Power Cord Assembly |
| 648 | WR9X502 GE Refrigerator Defrost Timer |
| 650 | WR60X187 GE Refrigerator Condenser Fan Motor |
| 651 | GEN WR01X1715 |
| 651 | GEN WR60X0214 |
| 651 | WASHER COND MTR |
| 683 | SCREW |
| 688 | WR01X10448 GE Refrigerator Screw 8-19 HI/LO TRP 1" S |
| 690 | WZ5X158D GE Screw Package of 12 |
| 690 | SCR 8-18 AB TPR 1 1/8 S |
| 694 | GEN WR01X1792 |
| 725 | WR87X20798 GE Refrigerator High Side Assembly |
| 730 | GEN WR84X0185 |
| 733 | WR07X26748 GE Start Relay WB07X26748 |
| 734 | GEN WR02X7929 |
| 734 | GEN WR02X7928 |
| 735 | WR8X122 GE Refrigerator Overload |
| 736 | WR2X8583 GE Refrigerator Clip |
| 737 | GEN WR02X7238 |
| 738 | WR1X1779 GE Refrigerator Stud Mounting Compressor |
| 740 | WR86X25269 GE Refrigerator R134 Dryer |
| 746 | GEN WR17X2648 |
| 751 | GEN WR32X1085 |
| 756 | GEN WR17X2632 |
| 764 | WR2X9000 GE Refrigerator Condenser Clip |
| 765 | GEN WR17X3378 |