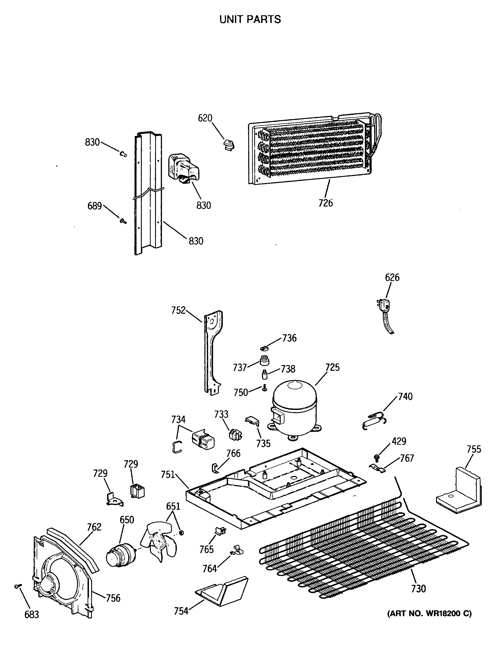
CTX18BASVRWH UNIT PARTS