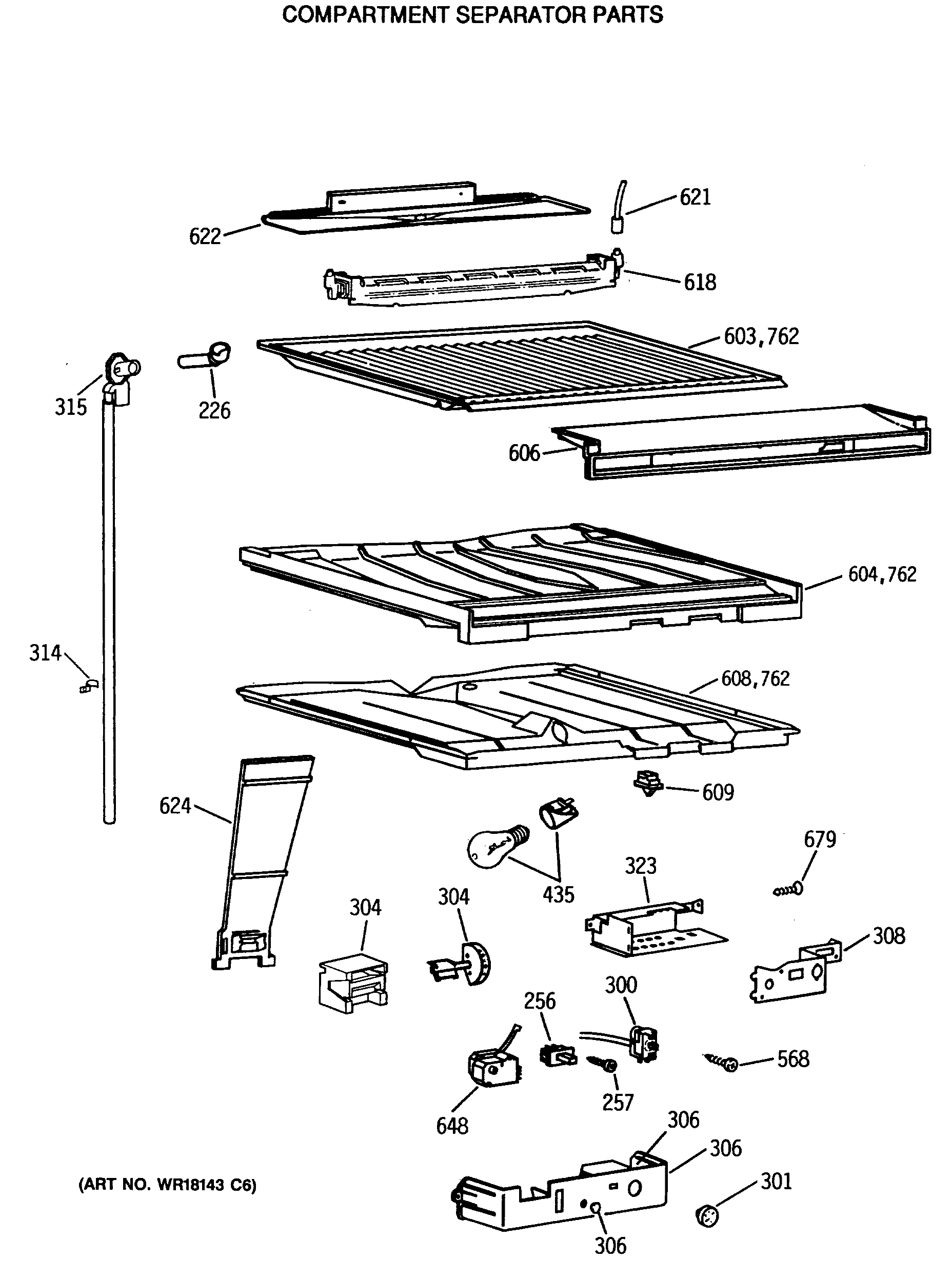
CTX18CASVLWW COMPARTMENT SEPARATOR PARTS