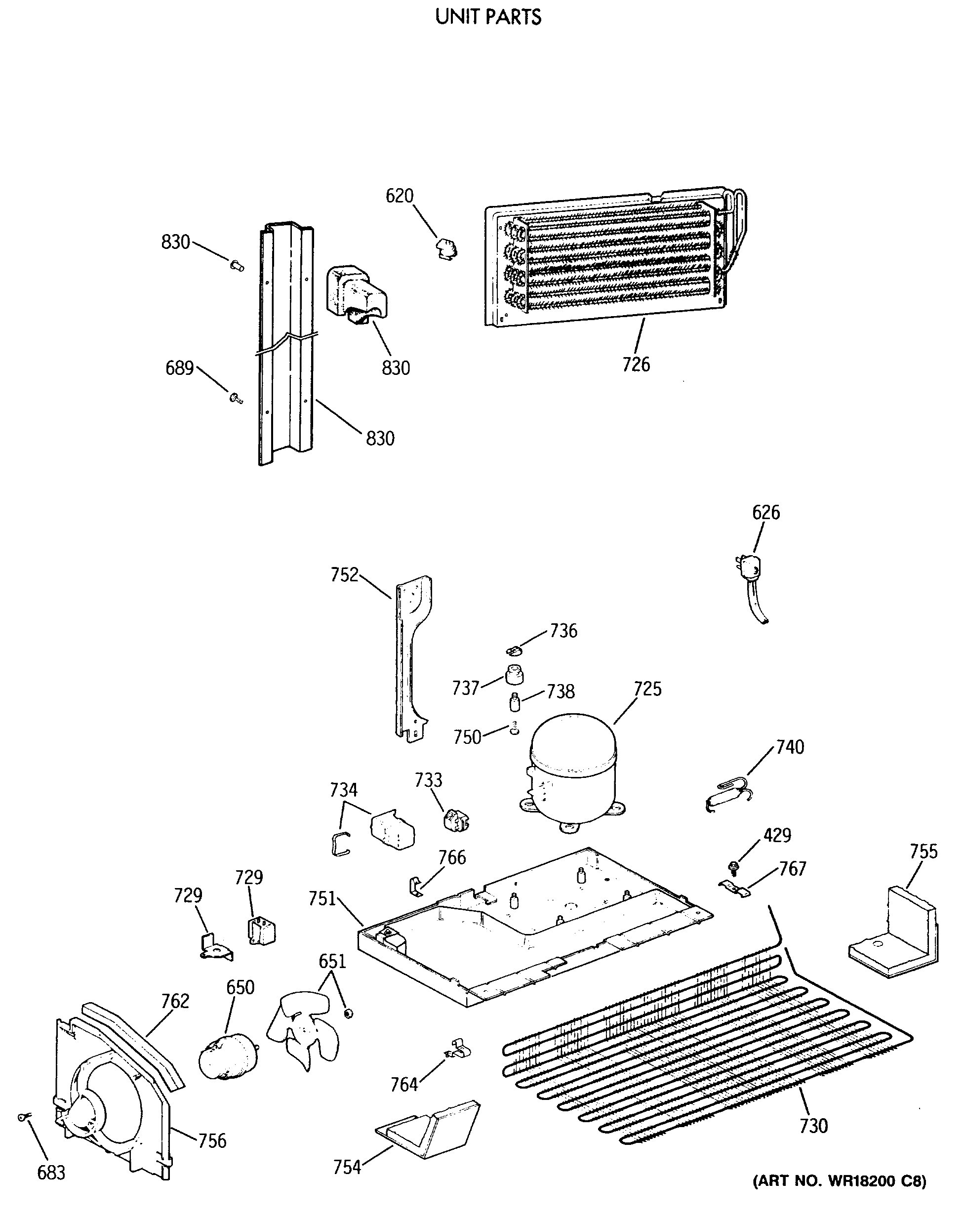
CTX18CASWRWW UNIT PARTS