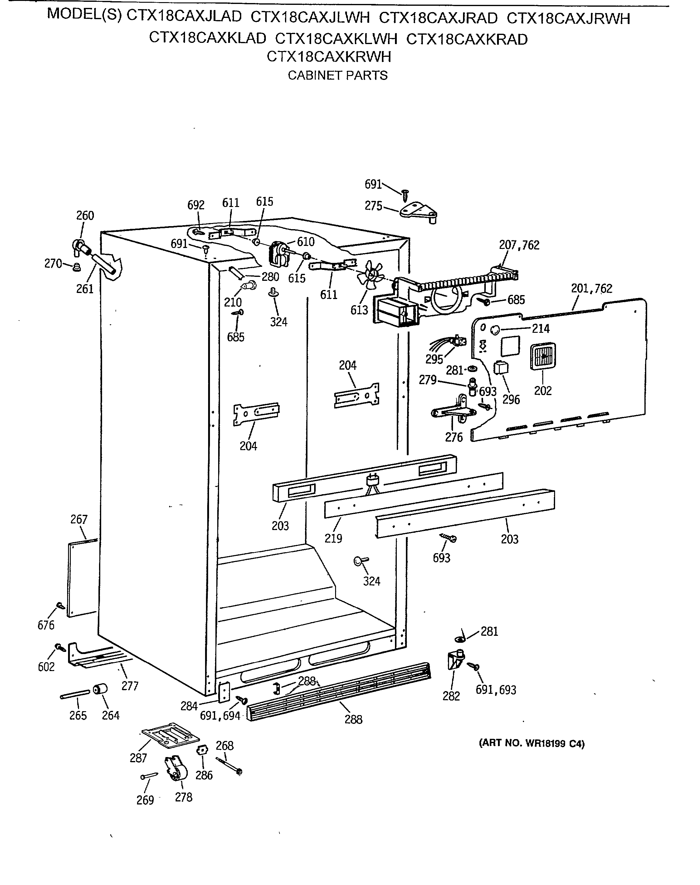
CTX18CAXKRWH CABINET PARTSadmin2025-04-26T08:34:21+00:00CTX18CAXKRWH CABINET PARTS ProductsPositionProduct201GEN WR17X2269202GEN WR02X8629203GEN WR17X4195203GEN WR14X0356204GEN WR02X7822204GEN WR02X7823207GEN WR17X2990210GEN WR02X6261214WR02X11760 GE Refrigerator Plug Button219GEN WR51X0358260GEN WR02X7773261GEN WR02X6087264WR2X3594 GE Refrigerator Wheel265GEN WR01X1774267GEN WR82X0321268GEN WR01X1816269GEN WR01X1803270WR2X8247 GE Refrigerator Plug Button275HINGE TOP PIN ASM WH276GEN WR13X0714277GEN WR17X3743278GEN WR02X8842279GEN WR13X0587280GEN WR02X7656281WR1X1797D GE Refrigerator Washer Package282GEN WR13X0648286GEN WR01X1815287GEN WR02X9168288GEN WR02X7646288GEN WR74X0220295GEN WR23X0315296GEN WR02X8444324GEN WR02X7051324PLUG BUTTON LG WH602WR1X1591 GE Refrigerator Screw610GEN WR60X0190611GEN WR02X7664613WR60X114 GE Refrigerator Evaporator Motor Fan Blade613WR60X123 GE Fan Blade Black615GEN WR02X7391676WD2X5166 GE Dishwasher Screw685WR01X10606 GE Refrigerator Screw 8-18 CA HX 1/2 S691WR1X2138 GE Refrigerator Screw692SCREW693GEN WR01X2136762GEN WR14X0313