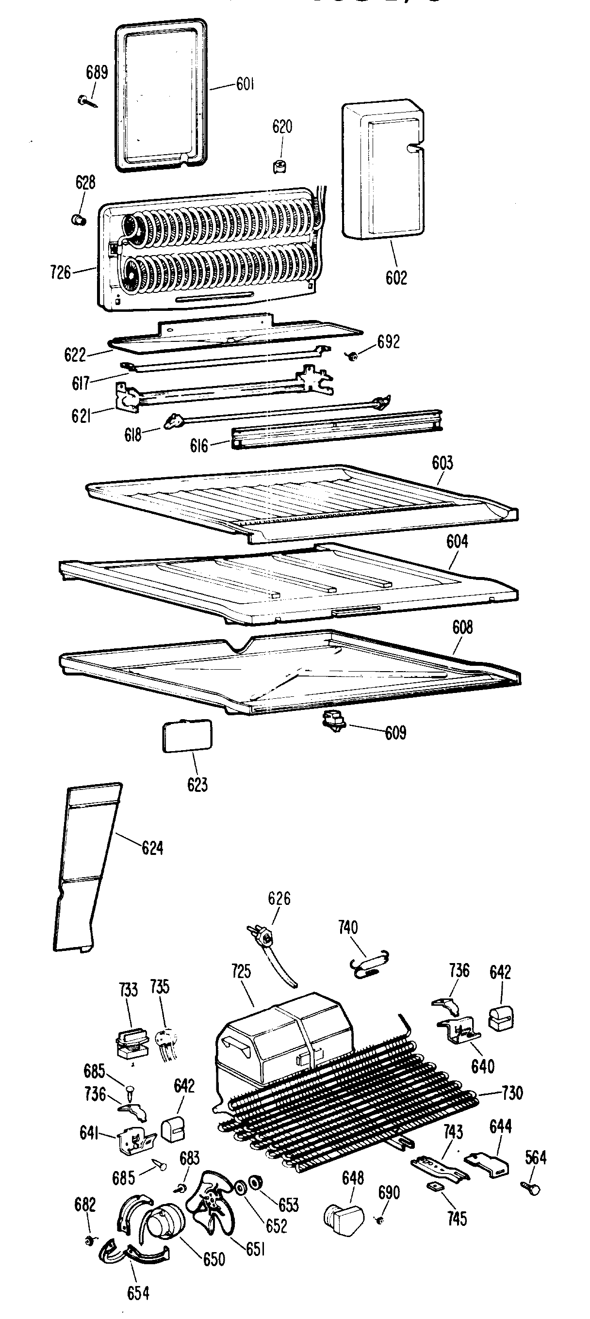
CTX18CGCR 2