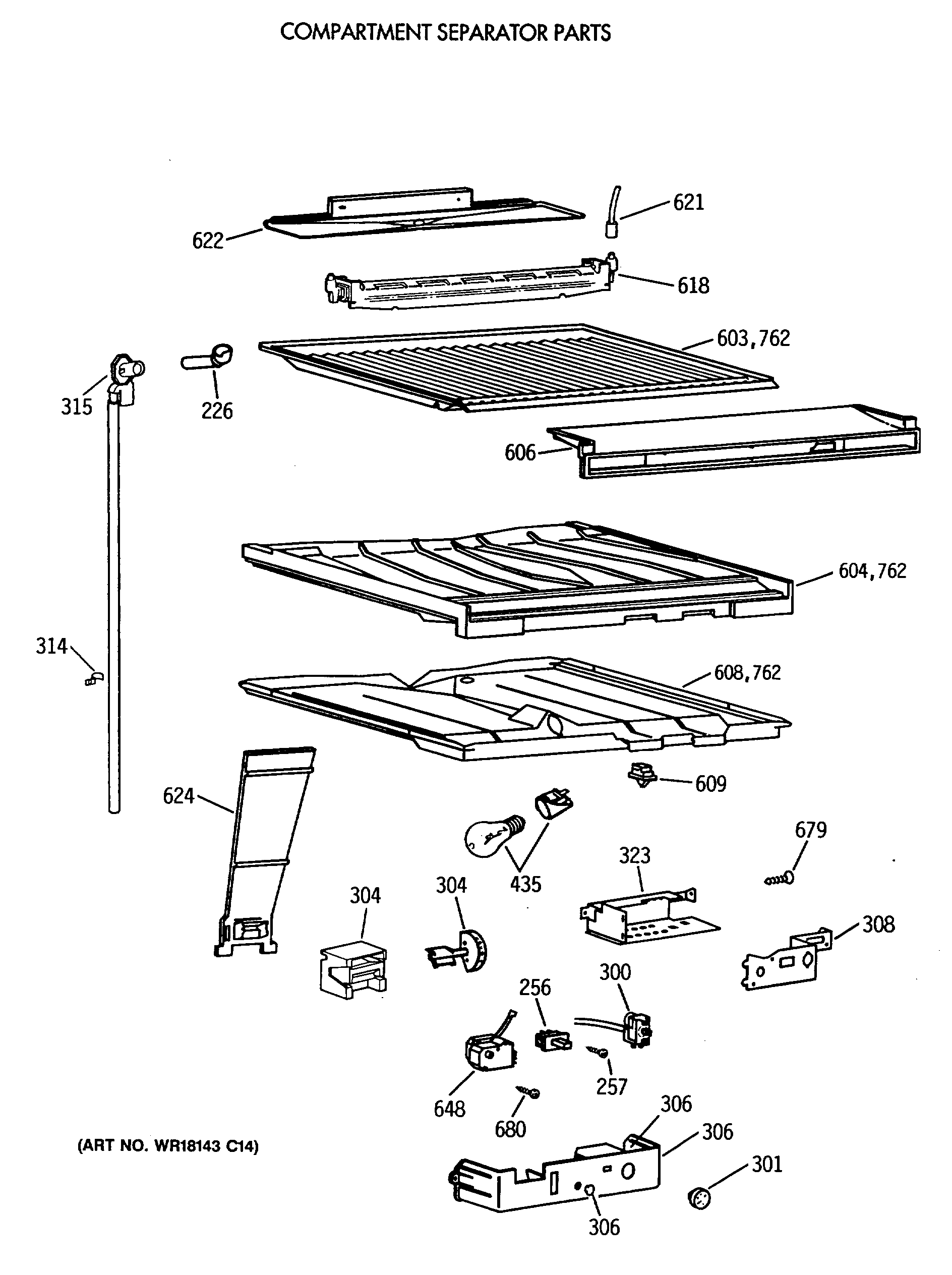
CTX18CIXBLWH COMPARTMENT SEPARATOR PARTSadmin2025-04-26T08:34:48+00:00CTX18CIXBLWH COMPARTMENT SEPARATOR PARTS ProductsPositionProduct226GEN WR02X7640256GEN WR23X0309257WZ5X158D GE Screw Package of 12300GEN WR09X0559300WR2X8344 GE Refrigerator Vinyl Sleeve301GEN WR02X8692304GEN WR02X8363304GEN WR02X9298306GEN WR17X3196306GEN WR02X7652306GEN WR02X7669308GEN WR02X7768314GEN WR02X8503315GROMMET DRAIN & TUBE323GEN WR02X7767435RANGE ONLY 40W 120V APPL BULB435WR2X9391 GE Socket and Terminal604GEN WR17X3494606GEN WR17X2385608GEN WR17X2774609WR23X37285 GE Light Switch618WR51X464 GE Refrigerator Defrost Heater621GEN WR02X4495622GEN WR14X0357622GEN WR17X2283624GEN WR17X3883648WR9X520 GE Refrigerator Defrost Timer 15 Hour 44 Minute679SCREW BRKT. EVAP. FAN680WR1X1850 GE Refrigerator Screw762GEN WR14X0313