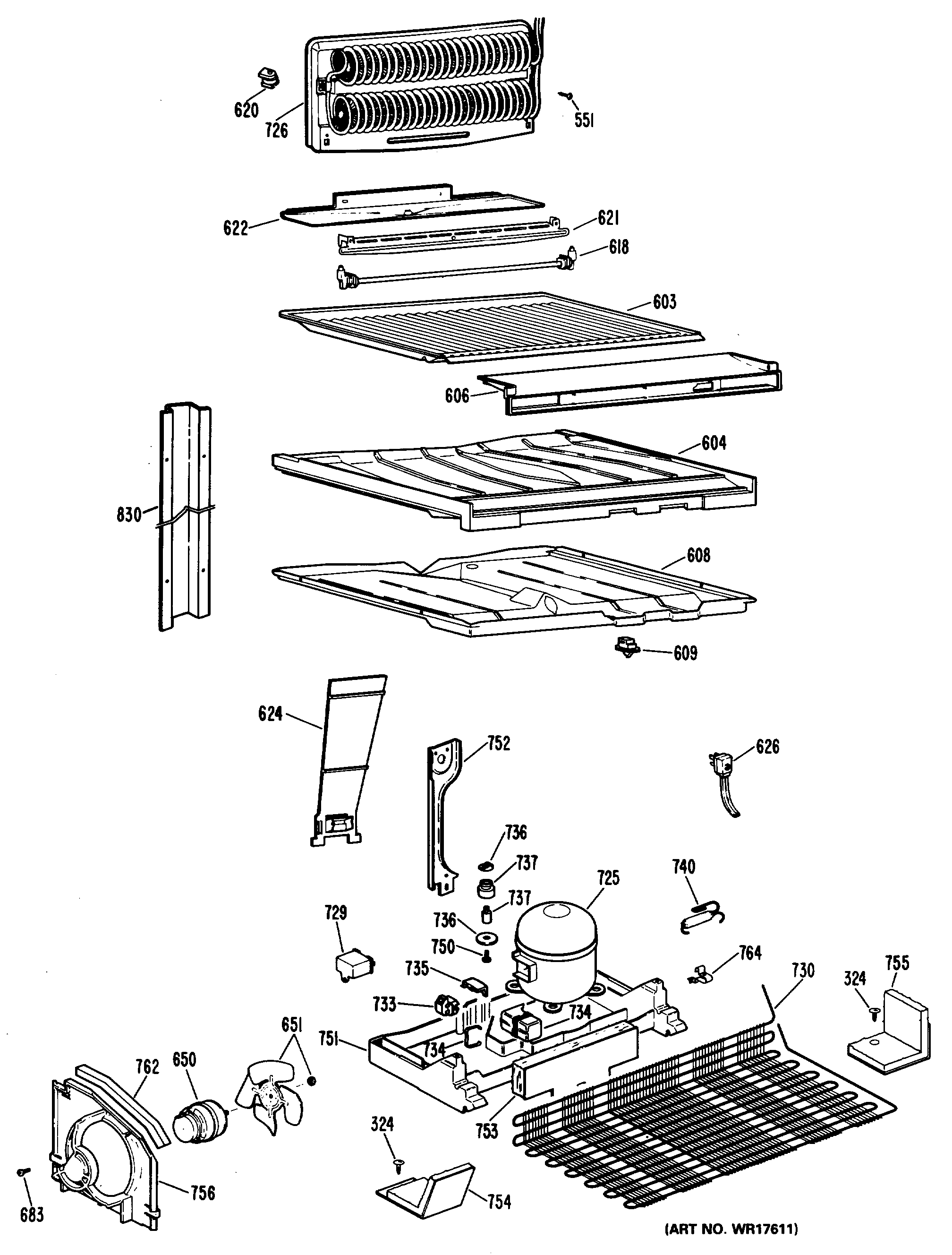
CTX18CLMRAD 2