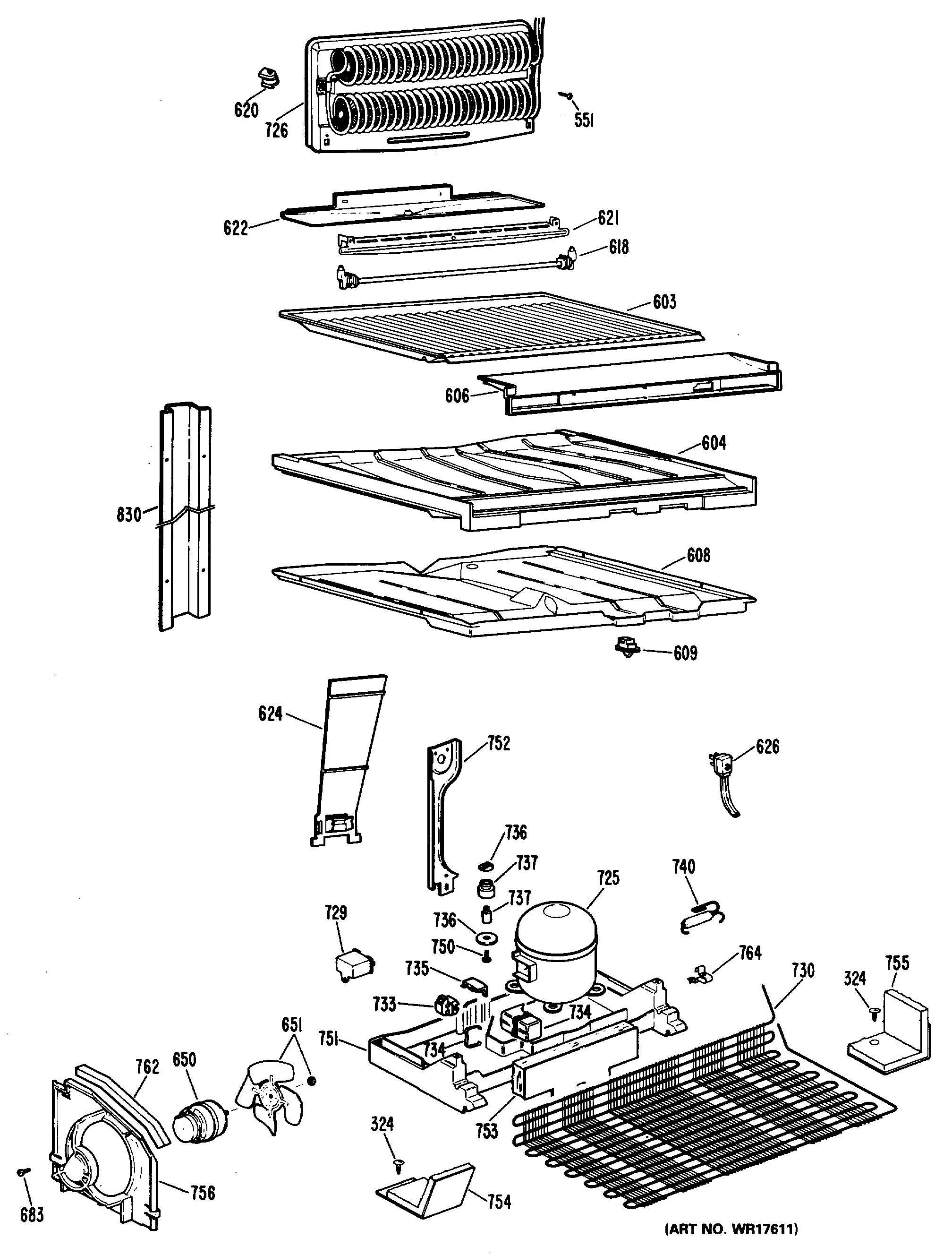
| 324 | PLUG BUTTON LG WH |
| 551 | GEN WZ04X0244 |
| 603 | GEN WR17X2275 |
| 604 | GEN WR17X2274 |
| 606 | GEN WR17X2385 |
| 608 | GEN WR17X2276 |
| 609 | WR23X37285 GE Light Switch |
| 618 | WR51X464 GE Refrigerator Defrost Heater |
| 620 | WR50X60 GE Refrigerator Defrost Thermostat |
| 621 | GEN WR02X7846 |
| 622 | GEN WR17X2283 |
| 622 | GEN WR14X0357 |
| 624 | GEN WR17X2270 |
| 626 | WR1X5278 GE Refrigerator Cable Clamp |
| 626 | WR23X10300 GE Refrigerator Power Cord Assembly |
| 650 | WR60X187 GE Refrigerator Condenser Fan Motor |
| 651 | GEN WR01X1715 |
| 651 | WASHER COND MTR |
| 651 | GEN WR60X0167 |
| 683 | SCREW |
| 726 | GEN WR85X0215 |
| 730 | GEN WR84X0133 |
| 733 | WR07X10055 GE Refrigerator PTCR Relay |
| 734 | CLAMP RELAY COVER |
| 734 | COVER RELAY |
| 735 | GEN WR02X7227 |
| 735 | GEN WR08X0100 |
| 736 | GEN WR01X1780 |
| 736 | GEN WR02X8203 |
| 737 | GEN WR02X7238 |
| 737 | WR1X1779 GE Refrigerator Stud Mounting Compressor |
| 740 | WR86X25269 GE Refrigerator R134 Dryer |
| 750 | WR1X1786 GE Refrigerator Screw |
| 751 | GEN WR17X2418 |
| 752 | GEN WR17X2417 |
| 753 | BAFFLE-CENTER |
| 754 | GEN WR17X2523 |
| 755 | GEN WR17X2268 |
| 756 | GEN WR17X2161 |
| 762 | GEN WR14X0313 |
| 764 | GEN WR02X7667 |
| 830 | GEN WR17X2575 |