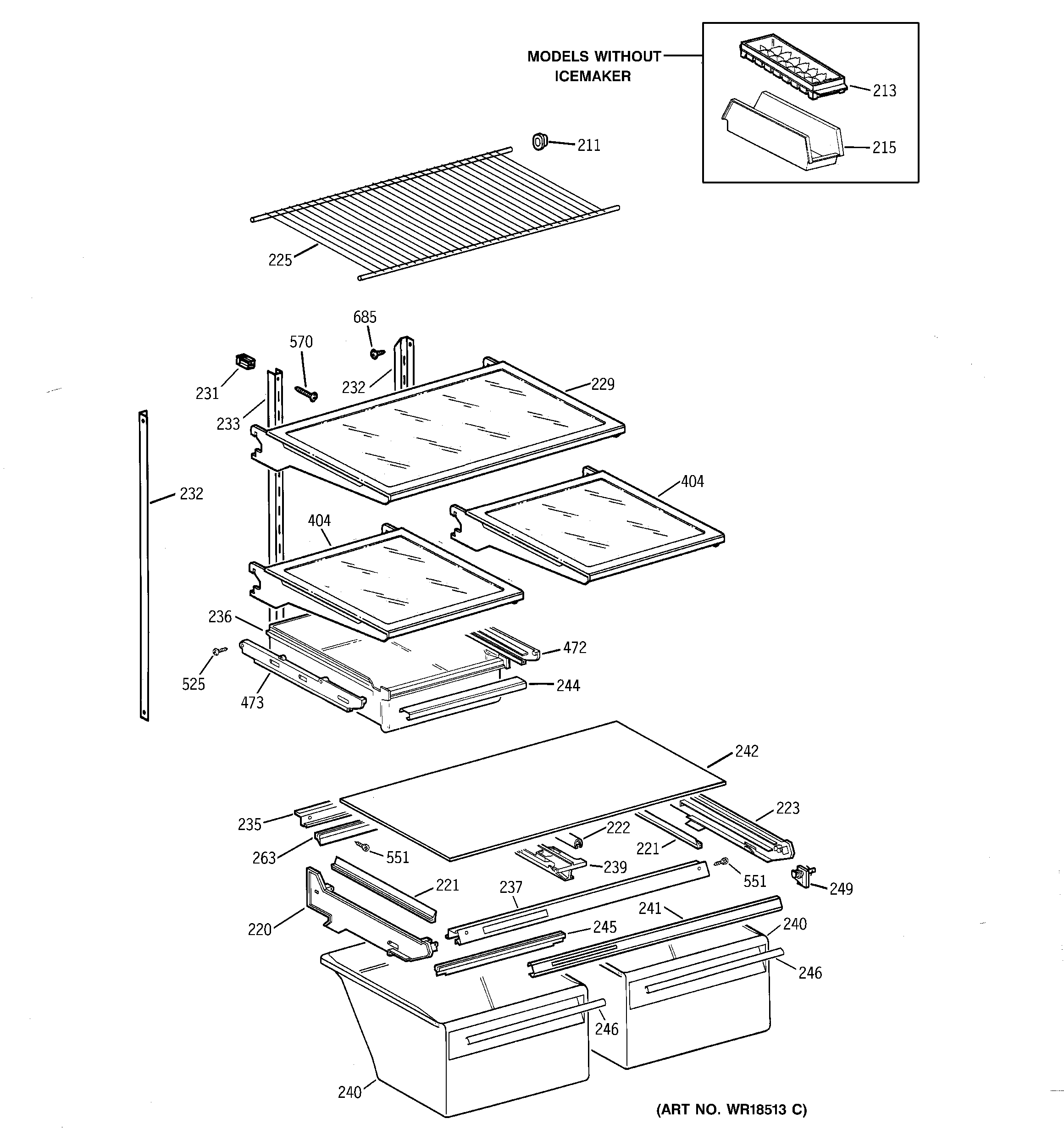
CTX18DABARAA SHELF PARTS