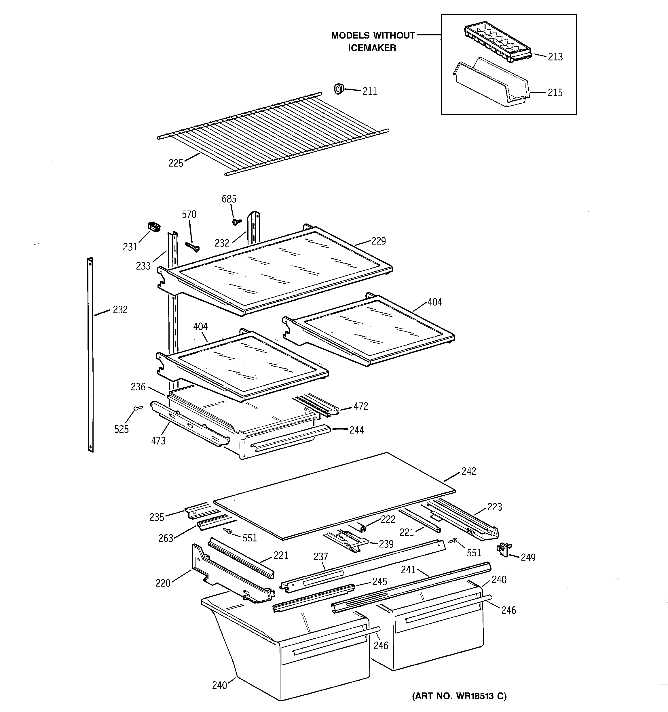
CTX18DABBRAA SHELF PARTS