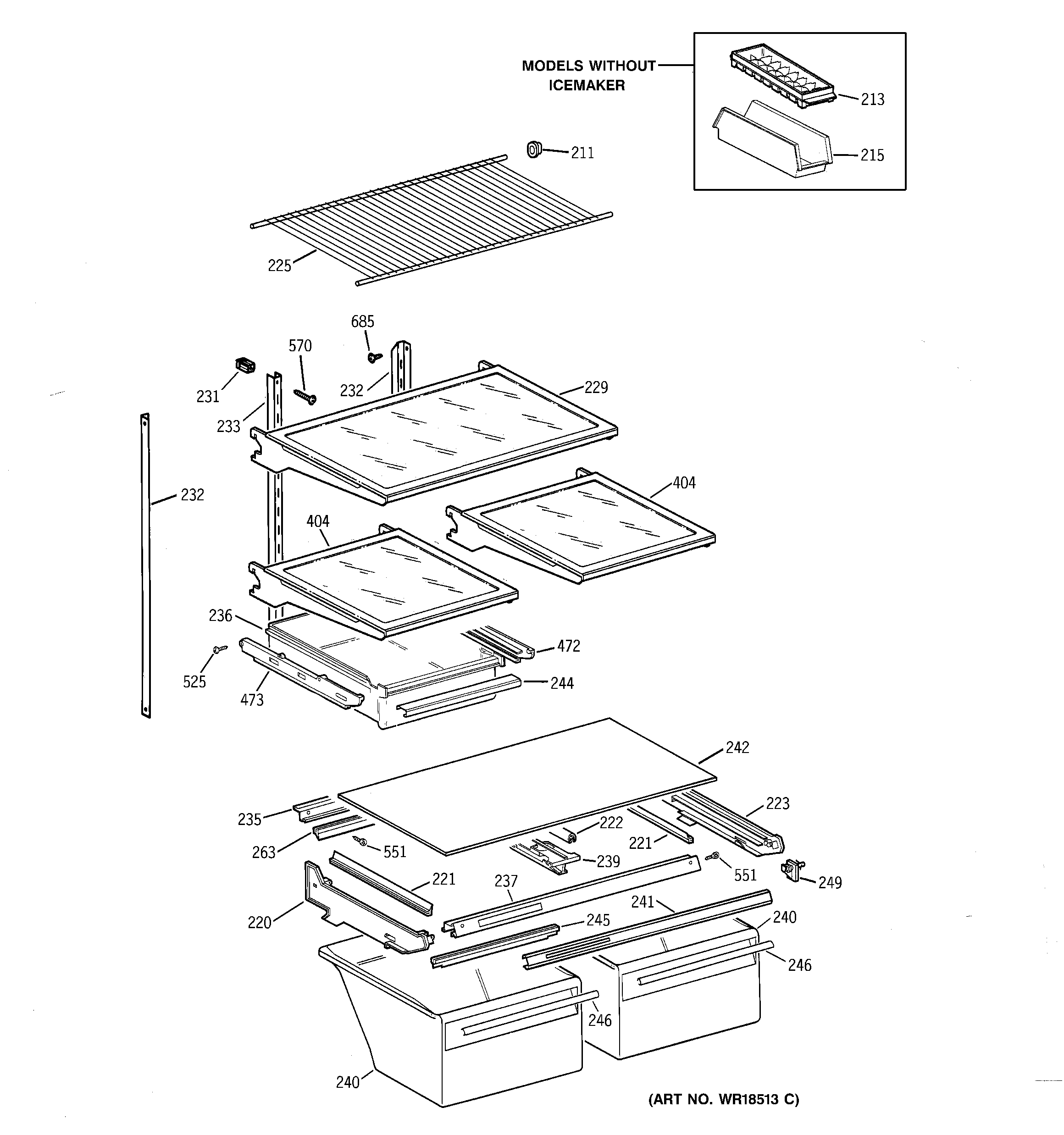
CTX18DABKRAA SHELF PARTS