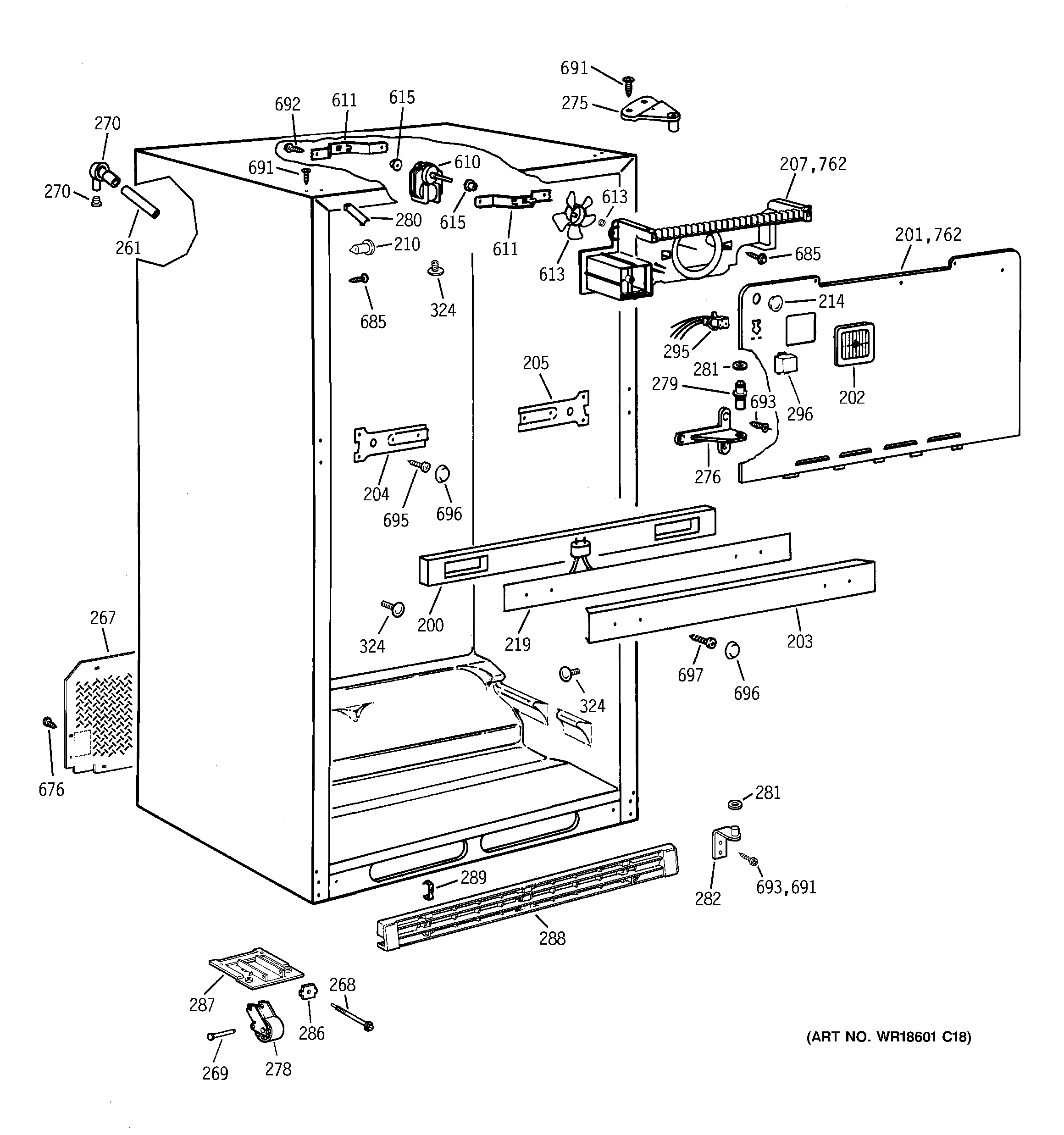
CTX18EABRRWW CABINET