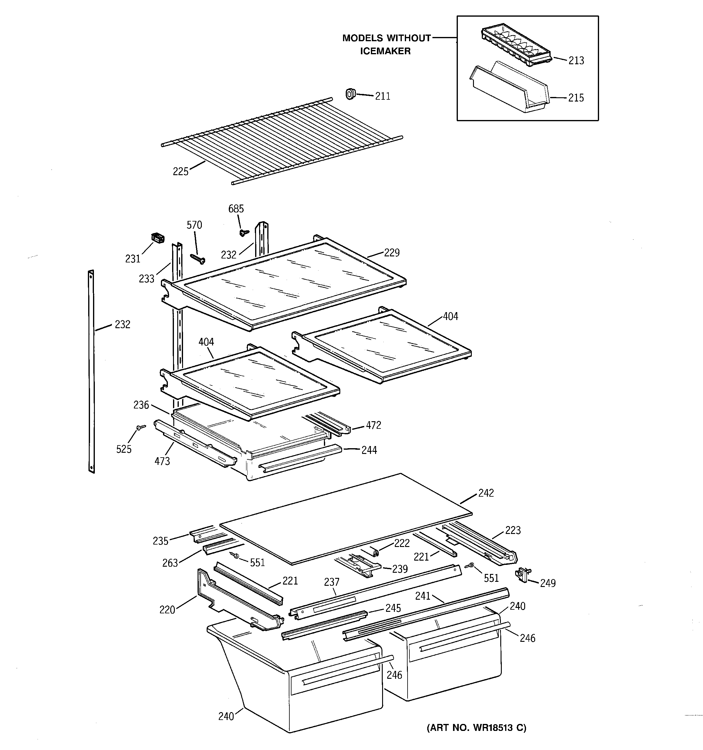
CTX19MACBRAA SHELF PARTS