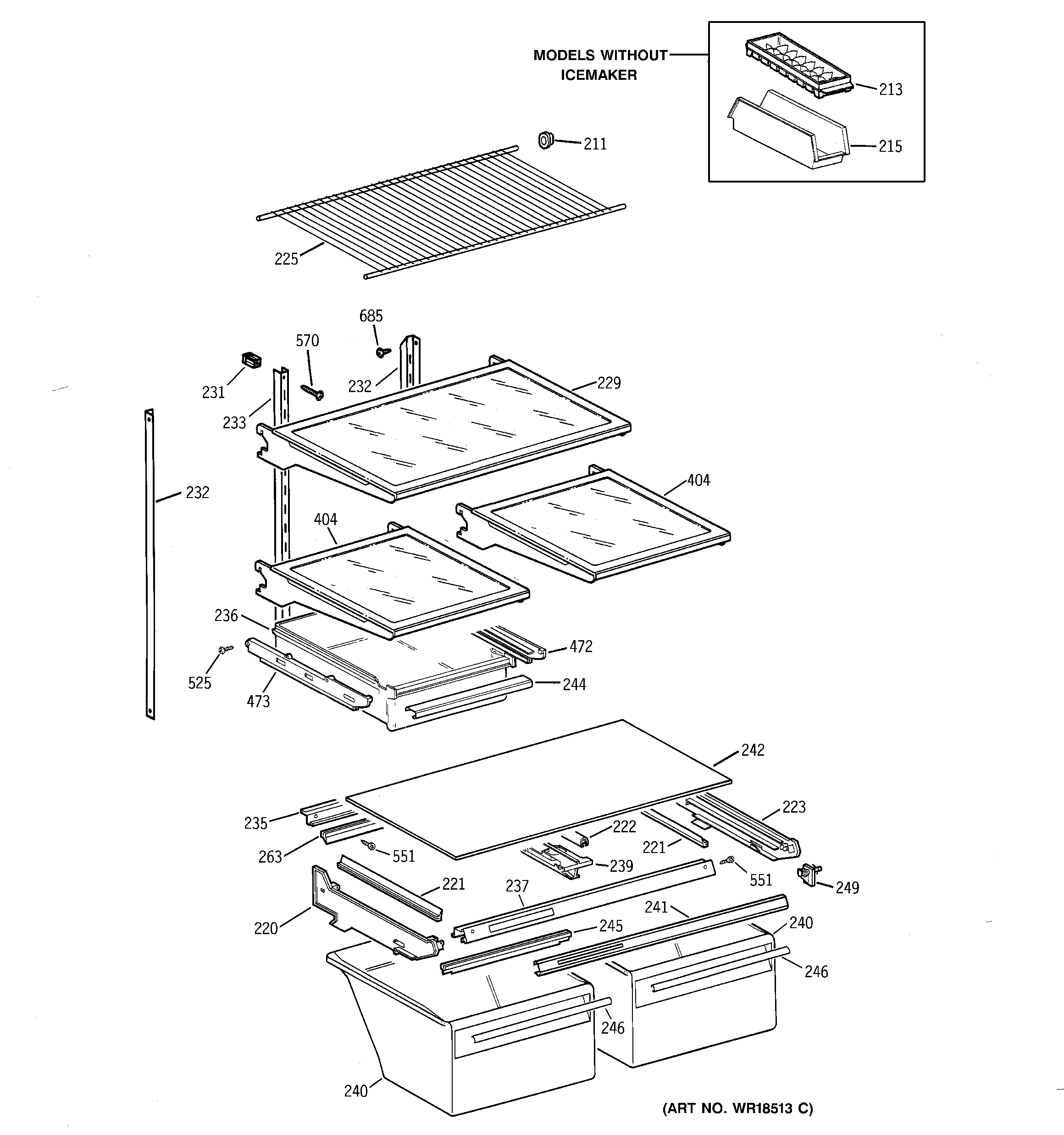
CTX21DABRRAA SHELF PARTS